LEMON Manuals: Even more car manuals for everyone: 1960-2025
Home >> Subaru >> 2019 >> Outback 2.5i >> Repair and Diagnosis >> Transmission >> Automatic Trans >> Continuously Variable Transmission (Diagnostics) >> Diagnostic Procedure With Diagnostic Trouble Code (DTC) >> DTC P0890: TCM Power Relay Sense Circuit Low >> Notes
April 5, 2026: LEMON Manuals is launched! Read the announcement.

DTC P0890: TCM Power Relay Sense Circuit Low: Notes

DTC detecting condition: 

Immediately at fault recognition

Trouble symptom: 

Improper gear shifting

CAUTION: Use the check board when measuring the ECM terminal voltage and resistance.

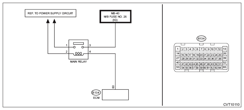
Wiring diagram: 

Power supply circuit Ref. to WIRING SYSTEM>POWER SUPPLY CIRCUIT>WIRING DIAGRAM .

Engine electrical system Ref. to WIRING SYSTEM>ENGINE ELECTRICAL SYSTEM>WIRING DIAGRAM .

G10314064Courtesy of SUBARU OF AMERICA, INC.
  1. CHECK ECM CONNECTOR  .

    Check the connecting condition of ECM connector.

    Is the ECM connector correctly connected?

    Yes: Go to  2 .

    No: Connect the ECM connector correctly.

  2. CHECK HARNESS BETWEEN M/B FUSE AND MAIN RELAY CONNECTOR  .
    1. Turn the ignition switch to OFF.
    2. Measure the voltage between M/B fuse and engine ground.

      Connector & terminal 

      (M/B fuse) No. 26 (+) - Engine ground (-):

    Is the voltage 10 V or more?

    Yes: Repair the harness and connector.

    NOTE: In this case, repair the following item:
    • Short circuit to power supply of harness between M/B fuse and main relay connector
    • Defective main relay

    No: Go to  3 .

  3. CHECK HARNESS BETWEEN ECM AND MAIN RELAY CONNECTOR  .
    1. Turn the ignition switch to OFF.
    2. Remove the main relay.
    3. Disconnect the ECM connector.
    4. Measure the resistance between the ECM connector and engine ground.

      Connector & terminal 

      (B134) No. 60 - Engine ground:

    Is the resistance 1 MΩ or more?

    Yes: Repair the poor contact of ECM connector.

    No: Repair the short circuit to ground in harness between ECM connector and main relay connector.