LEMON Manuals: Even more car manuals for everyone: 1960-2025
Home >> Subaru >> 2019 >> WRX Base >> Repair and Diagnosis >> Steering >> Power Steering >> Power Steering System >> Steering Gearbox >> Installation
April 5, 2026: LEMON Manuals is launched! Read the announcement.

Steering Gearbox: Installation

CAUTION: Install the under cover - front so that the front end of the under cover (b) comes inside the bumper face - front (a).
G10269429Courtesy of SUBARU OF AMERICA, INC.
  1. Insert the gearbox into crossmember, being careful not to damage gearbox boot.
  2. Install the gearbox to the crossmember through the clamp and stiffener.
    CAUTION: Since the bushing mounting bolt is applied with lubricant, always use a new bolt.

    Tightening torque: 

    60 N.m (6.1 kgf-m, 44.3 ft-lb)

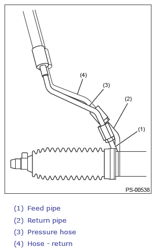
  3. Connect the return pipe to the hose - return and then connect the feed pipe to the pressure hose.
    G13262135Courtesy of SUBARU OF AMERICA, INC.

    Tightening torque: 

    15 N.m (1.5 kgf-m, 11.1 ft-lb)

  4. Install the universal joint assembly - steering. Refer to POWER ASSISTED SYSTEM (POWER STEERING)>UNIVERSAL JOINT>INSTALLATION .
  5. Connect the tie-rod ends.
    1. Connect the tie-rod end (a) to the housing assembly - front axle.
    2. Tighten the castle nuts (b) to the specified torque.
      CAUTION: When connecting the tie-rod, do not hit the cap at bottom of tie-rod end with a hammer.

      Tightening torque: 

      27 N.m (2.8 kgf-m, 19.9 ft-lb)

    3. Tighten within the range of 60° so that the cotter pin hole and cutout portion of the castle nut (b) are aligned.
    4. Insert a new cotter pin (c), and bend the tip of the pin to fix it.
    G10297978Courtesy of SUBARU OF AMERICA, INC.
  6. Install the front stabilizer. Refer to FRONT SUSPENSION>FRONT STABILIZER>INSTALLATION .
  7. Install the front crossmember support.

    Tightening torque: 

    Front suspension parts: Refer to FRONT SUSPENSION>GENERAL DESCRIPTION>COMPONENT>FRONT SUSPENSION .

  8. Install the under cover - front. Refer to EXTERIOR/INTERIOR TRIM>FRONT UNDER COVER>INSTALLATION .
  9. Install the front wheels.
  10. Lower the vehicle.
  11. Tighten the wheel nuts to the specified torque.

    Tightening torque: 

    120 N.m (12.2 kgf-m, 88.5 ft-lb)

  12. Connect the battery ground terminal. Refer to NOTE>NOTE>BATTERY .
  13. Pour fluid into the oil tank, and bleed air. Refer to POWER ASSISTED SYSTEM (POWER STEERING)>POWER STEERING FLUID .
  14. Check for fluid leaks.
  15. Check the fluid level in oil tank.
  16. Adjust the toe-in and steering angle. Refer to FRONT SUSPENSION>WHEEL ALIGNMENT>ADJUSTMENT>FRONT WHEEL TOE-IN .
    NOTE: When adjusting toe-in, hold the boot as shown to prevent it from being rotated or twisted. If it becomes twisted, straighten it.
    G08316078Courtesy of SUBARU OF AMERICA, INC.
  17. Tighten the tie-rod end lock nut.

    Tightening torque: 

    85 N.m (8.7 kgf-m, 62.7 ft-lb)