LEMON Manuals: Even more car manuals for everyone: 1960-2025
Home >> Subaru >> 2021 >> Forester Base >> Repair and Diagnosis >> Engine Mechanical >> Mechanical >> Engine Mechanical System >> Engine Assembly >> Removal
April 5, 2026: LEMON Manuals is launched! Read the announcement.

Engine Assembly: Removal

  1. Remove the striker assembly front hood. Ref. to EXTERIOR BODY PANELS>FRONT HOOD>DISASSEMBLY .
  2. Fully open the panel COMPL front hood. Ref. to REPAIR CONTENTS>NOTE>STAY ASSEMBLY FRONT HOOD .
  3. Remove the collector cover. Ref. to INTAKE (INDUCTION) (H4DO)>COLLECTOR COVER>REMOVAL .
  4. Release the fuel pressure. Ref. to FUEL INJECTION (FUEL SYSTEMS) (H4DO)>FUEL>PROCEDURE>RELEASING OF FUEL PRESSURE .
  5. Collect the refrigerant. Ref. to AIR CONDITIONER>REFRIGERANT RECOVERY PROCEDURE>PROCEDURE .
  6. Open the fuel filler lid and remove the fuel filler cap.
    NOTE: This operation is required to release the inner pressure of the fuel tank.
  7. Disconnect the ground terminal of the battery sensor and the positive terminal of the battery. Ref. to GROUND TERMINAL REMOVAL OR INSTALLATION .
  8. Remove the air intake boot. Ref. to INTAKE (INDUCTION) (H4DO)>AIR INTAKE BOOT>REMOVAL .
  9. Remove the air cleaner case (rear). Ref. to INTAKE (INDUCTION) (H4DO)>AIR CLEANER CASE>REMOVAL .
  10. Remove the radiator. Ref. to COOLING (H4DO)>RADIATOR>REMOVAL .
  11. Disconnect the connector (A), connector (B) and terminal (C).
  12. Remove the clip (D) and clip (E) that secure the battery cable assembly.
  13. Disconnect the hose pressure suction and the hose pressure discharge from the A/C compressor. Ref. to AIR CONDITIONER>HOSE AND PIPE>REMOVAL .
    G13224263Courtesy of SUBARU OF AMERICA, INC.
  14. Disconnect the brake booster vacuum hose (A).
  15. Disconnect the connector (B), and remove the engine wiring harness from the clip (C).
  16. Remove the clip (D) securing battery cable assembly and release the claw (E).
    G13867823Courtesy of SUBARU OF AMERICA, INC.
  17. Disconnect connector (A) from ECM.
    CAUTION: In order to prevent damaging the connector (A), check that the lock is released completely when moving the lever.
    NOTE: To disconnect the connector (A), press the portion (a) shown in the figure to release the lock and move the lever in the direction of arrow.
    G13223989Courtesy of SUBARU OF AMERICA, INC.
  18. Disconnect the connector (B) from the main fuse box, and remove the engine wiring harness from the clip (C).
    G13224266Courtesy of SUBARU OF AMERICA, INC.
  19. Release the claw (A) securing the battery cable assembly to the bracket.
  20. Release the claw (B) securing the engine wiring harness to the bracket, and place it aside so that it does not interfere with work.
    G13224267Courtesy of SUBARU OF AMERICA, INC.
  21. Disconnect the heater inlet hose (A) and the heater outlet hose (B).
    G13224268Courtesy of SUBARU OF AMERICA, INC.
  22. Disconnect the transmission harness connector from the engine wiring harness.
    G13224269Courtesy of SUBARU OF AMERICA, INC.
  23. Remove the pitching stopper. Ref. to CONTINUOUSLY VARIABLE TRANSMISSION (TR580)>TRANSMISSION MOUNTING SYSTEM>REMOVAL>PITCHING STOPPER .
  24. Disconnect the brake booster vacuum hose (A) from the brake vacuum pump.
    NOTE: Before disconnecting the brake booster vacuum hose, use a marker to put an alignment mark (a) at the position shown in the figure when the clip is slid.
    G13230034Courtesy of SUBARU OF AMERICA, INC.
  25. Disconnect the water hose (B) and water hose (C) from the CVTF cooler (with warmer feature) and the EGR cooler.
    G13224270Courtesy of SUBARU OF AMERICA, INC.
  26. Lift up the vehicle.
  27. Disconnect the ground cord on the engine side.
    G13224271Courtesy of SUBARU OF AMERICA, INC.
  28. Remove the nuts which secure the engine mounting to the Cross Member COMPL front.
    G11253160Courtesy of SUBARU OF AMERICA, INC.
  29. Remove the Cross Member support rear RH. Ref. to FRONT SUSPENSION>CROSS MEMBER SUPPORT>REMOVAL .
  30. Remove the bolts and nuts which hold the lower side of transmission to the engine.
    G08316839Courtesy of SUBARU OF AMERICA, INC.
  31. Lower the vehicle.
  32. Remove the starter. Ref. to STARTING/CHARGING SYSTEMS (H4DO)>STARTER>REMOVAL .
  33. Separate the torque converter from drive plate.
    1. Remove the PCV hose No. 1. Ref. to EMISSION CONTROL TAUX. EMISSION CONTROL DEVICES) (H4DO)>PCV HOSE>REMOVAL>PCV HOSE NO. 1 .
    2. Disconnect the connector (A), and remove the plug (B) from the service hole.
      G13224274Courtesy of SUBARU OF AMERICA, INC.
    3. Insert the wrench into the crank pulley bolt, and rotate the crank pulley to remove the bolts (4 places) securing the torque converter to the drive plate.
      G13224275Courtesy of SUBARU OF AMERICA, INC.
    4. Attach the ST to the converter case.

      Preparation tool: 

      ST: STOPPER SET (498277200)

      G13224276Courtesy of SUBARU OF AMERICA, INC.
  34. Disconnect the fuel delivery tube and evaporation hose.
    CAUTION:
    • Be careful not to spill fuel.
    • Catch the fuel from the tubes using a container or cloth.
    1. Disconnect the evaporation hose (A) from the purge control solenoid valve, and remove the evaporation hose (A) from the clip (B).
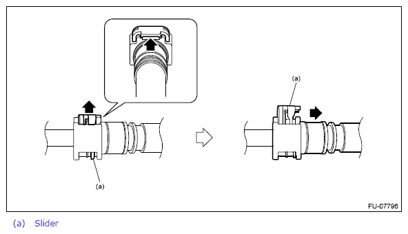
    2. Remove the clip (B) from the intake manifold assembly, and disconnect the quick connector of the fuel delivery tube (C) from the fuel pipe.
      NOTE: Disconnect the quick connector as shown in the figure.
      G13867837Courtesy of SUBARU OF AMERICA, INC.
      G13224278Courtesy of SUBARU OF AMERICA, INC.
  35. Separate the engine and transmission.
    CAUTION: Before removing the engine away from transmission, check to be sure no work has been overlooked.
    1. Using the ST1, install the ST2 to the engine unit.

      Preparation tool: 

      ST1: BOLT (18363AA050)

      ST2: HANGER (18360AA040)

      Tightening torque: 

      43 N.m (4.4 kgf-m, 31.7 ft-lb)

      G13224279Courtesy of SUBARU OF AMERICA, INC.
    2. Support the engine with a lifting device and wire ropes.
      G13867840Courtesy of SUBARU OF AMERICA, INC.
    3. Support the transmission with a garage jack.
      CAUTION: Be sure to perform this procedure to prevent the transmission from lowering by its own weight.
      G13867841Courtesy of SUBARU OF AMERICA, INC.
    4. Remove the bolts which hold the upper side of the transmission to the engine.
      G08316854Courtesy of SUBARU OF AMERICA, INC.
  36. Remove the engine unit from the vehicle.
    NOTE: Be careful not to damage adjacent parts or body panels with crank pulley, oil level gauge, etc.
    1. Slightly raise the engine.
    2. Raise the transmission with garage jack.
    3. Move the engine horizontally until engine is withdrawn from transmission.
    4. Slowly move the engine away from engine compartment.
  37. Remove the engine mounting from the engine.
  38. Set the engine unit on the engine stand, etc. and remove the lifting device and wire ropes. Ref. to MECHANICAL (H4DO)>Preparation for Overhaul>PROCEDURE .
  39. Remove the ST1 and ST2 from the engine unit.
    G13224279Courtesy of SUBARU OF AMERICA, INC.