LEMON Manuals: Even more car manuals for everyone: 1960-2025
Home >> Subaru >> 2021 >> WRX Base >> Repair and Diagnosis >> Suspension >> Wheel Alignment >> Front Suspension System And Wheel Alignment >> Front Strut >> Disposal
April 5, 2026: LEMON Manuals is launched! Read the announcement.

Front Strut: Disposal

CAUTION:
  • Before handling the strut damper and shock absorber, be sure to wear goggles to protect eyes from gas, oil and cutting powder.
  • Do not disassemble the strut damper and shock absorber or place them into a fire.
  • When discarding gas filled strut dampers and shock absorbers, drill holes in them to purge the gas.
  1. Place the strut damper and shock absorber on a level surface with the piston rod fully expanded.
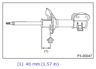
  2. Make a hole into the specified position 30 mm (1.18 in) deep using a drill with 2 - 3 mm (0.08 - 0.12 in) diameter. (standard damper model)
    G13642519Courtesy of SUBARU OF AMERICA, INC.
  3. Using a 2 - 3 mm (0.08 - 0.12 in) dia. drill, make a hole into the position (1) first, and then (2). (inverted damper model)
G13642520Courtesy of SUBARU OF AMERICA, INC.