LEMON Manuals: Even more car manuals for everyone: 1960-2025
Home >> Subaru >> 2022 >> Ascent Base >> Repair and Diagnosis (Single Page) >> Engine Performance >> System >> Engine Control System (Diagnostics) (2 Of 4) >> Diagnostic Procedure with Diagnostic Trouble Code (DTC) >> DTC P0455: EVAP System (CPC) Leak Detected (Large Leak) >> General Description >> Diagnostic Method
April 5, 2026: LEMON Manuals is launched! Read the announcement.

Diagnostic Method

G13866361Courtesy of SUBARU OF AMERICA, INC.
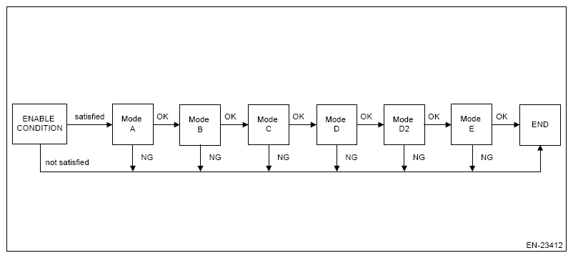
Mode Explanation of Mode DTC Diagnosis period
A Vacuum pump operation confirmation and characteristics stability P2404 7 s or less
B Measurement of reference pressure for setting the target negative pressure P2404 350 s or less
C Switching valve operation confirmation P2404 12 s or less
D Clogging of pipe diagnosis and leak pressure measurement P1451 1100 s or less
D2 Check valve open stuck P04AE 30 s or less
E 0.04 inch leak pressure measurement P0455 50 s or less
0.02 inch leak pressure measurement P0456
Reference pressure measurement for judgment P2401
G13866362Courtesy of SUBARU OF AMERICA, INC.

<Mode A (vacuum pump operation confirmation and characteristics stability)> 

Purpose: Detect the vacuum pump operation trouble.

Judge as NG when the following conditions are established.

Judge as OK if the following conditions are not established, and warm up for five minutes to stabilize the vacuum pump characteristics.

JUDGMENT VALUE SPECIFICATION

Malfunction Criteria Threshold Value DTC
Pressure sensor output value More than -0.22 kPa (-1.7 mmHg, -0.1 inHg) P2404

<Mode B (measurement of reference pressure for setting the target negative pressure)> 

Judgment 1

Purpose: Judge the reference pressure stability.

Judge as NG when the following conditions are established.

Judgment 2, 3

Purpose: Judge whether the reference pressure is within the normal range, and detect the vacuum pump and orifice malfunctions.

Judge as NG when the following conditions are established.

JUDGMENT VALUE SPECIFICATION

Malfunction Criteria Threshold Value DTC
<Judgment 1>
|Pressure sensor maximum output value - Pressure sensor minimum output value|
Or,
More than 0.49 kPa (3.7 mmHg, 0.1 inHg) P2404
<Judgment 2>
Reference pressure for setting the target negative pressure
Or,
Less than value of Map2 P2404
<Judgment 3>
Reference pressure for judgment
More than value of Map3 P2404
BAROMETRIC PRESSURE SPECIFICATION - MAP 2

Barometric pressure (kPa (mmHg, inHg)) 70 (525, 20.7) 80 (600, 23.6) 90 (675, 26.6) 100 (750, 29.5)
Reference pressure for setting the target negative pressure (kPa (mmHg, inHg)) -3.97 (-30, -1.2) -4.08 (-31, -1.2) -4.19 (-31, -1.2) -4.29 (-32, -1.3)
BAROMETRIC PRESSURE SPECIFICATION - MAP 3

Barometric pressure kPa (mmHg, inHg) 70 (525, 20.7) 80 (600, 23.6) 90 (675, 26.6) 100 (750, 29.5)
Reference pressure for setting the target negative pressure (kPa (mmHg, inHg)) -0.94 (-7.1, -0.3) -1.05 (-7.9, -0.3) -1.16 (-8.7, -0.3) -1.26 (-9.5, -0.4)

<Mode C (Switching valve operation confirmation)> 

Purpose: Measure the pressure increase when switching valve is changed from open to close, and detect the stuck to open/close malfunctions of the switching valve.

Judge as NG when the following conditions are established.

JUDGMENT VALUE SPECIFICATION

Malfunction Criteria Threshold Value DTC
Pressure sensor output value -Reference pressure for setting the target negative pressure Less than 0.22 kPa (1.7 mmHg, 0.1 inHg) P2404

<Mode D (Clogging of pipe diagnosis and leak pressure measurement)> 

  1. Clogging of pipe 

    Purpose: Measure the time required for the evaporative emission system to reach the target negative pressure by the vacuum pump, and detect the clogging of pipe trouble.

    Judge as clogging of pipe malfunction if the evaporative emission system reaches to the target negative pressure within the specified time.

  2. Leak pressure measurement 

    Purpose: Measure the pressure (leak pressure) when the evaporative emission system becomes the negative pressure by the vacuum pump.

    Store the pressure as a leak pressure while the following conditions are met.

JUDGMENT VALUE SPECIFICATION

Malfunction Criteria Threshold Value DTC
<Phase D>
Time required to reach to the target negative pressure
40.9 seconds or less P1451
<Phase D2>
Reference pressure for judgment of the target negative pressure
More than -0.18 kPa (-1.4 mmHg, -0.05 inHg) P04AE
<Large leak (0.04 inch)>
Leak pressure
Value of Map4 or more P0455
<Very small leak (0.02 inch)>
Leak pressure
More than 0.018 inch reference
pressure
and
Less than value of Map4
P0456
REFERENCE PRESSURE SPECIFICATION - MAP 4

Reference pressure (Pa) -4856 -4000 -2750 -1500 -824
Threshold Value (Pa) -1785 -1463 -991 -520 -265

Formula for threshold value = Reference pressure x 0.377 - 0.341

<Mode E (Measurement of reference pressure for judgment)> 

Judgment 1

Purpose: Judge the reference pressure stability.

Judge as NG when the following conditions are established.

Judgment 2

Purpose: Judge whether the reference pressure is within the normal range, and detect the vacuum pump and orifice malfunctions. Judge the vacuum pump performance stability.

Judge as NG when the following conditions are established.

Judgment 3

Purpose: Judge the presence of evaporative emission system leak.

Judge as NG when the following conditions are established.

JUDGMENT VALUE SPECIFICATION

Malfunction Criteria Threshold Value DTC
<Judgment 1>
|Pressure sensor maximum output value - Pressure sensor minimum output value| Or,
More than 0.49 kPa (3.7 mmHg, 0.1 inHg) P2404
<Judgment 2>
Reference pressure for judgment
Or,
Less than value of Map5
Or,
More than value of Map6
P2404
<Judgment 3>
|Reference pressure for setting the target negative pressure - Reference pressure for judgment|
More than 0.94 kPa (7.1 mmHg, 0.3 inHg) P2404
BAROMETRIC PRESSURE SPECIFICATION - MAP 5

Barometric pressure (kPa (mmHg, inHg)) 70 (525, 20.7) 80 (600, 23.6) 90 (675, 26.6) 100 (750, 29.5)
Reference pressure for judgment (kPa (mmHg, inHg)) -4.54 (-34.1, -1.3) -4.64 (-34.8, -1.4) -4.75 (-35.6, -1.4) -4.86 (-36.5, -1.4)
BAROMETRIC PRESSURE SPECIFICATION - MAP 6

Barometric pressure (kPa (mmHg, inHg)) 70 (525, 20.7) 80 (600, 23.6) 90 (675, 26.6) 100 (750, 29.5)
Reference pressure for judgment (kPa (mmHg, inHg)) -0.82 (-6.15, -0.2) -0.93 (-6.98, -0.3) -1.04 (-7.8, -0.3) -1.14 (-8.55, -0.3)

Time needed for diagnosis:  27 min

Confirm the malfunction at next engine start.

Malfunction indicator light illumination:  Illuminates when malfunction occurs in 2 continuous driving cycles.