LEMON Manuals: Even more car manuals for everyone: 1960-2025
Home >> Subaru >> 2023 >> Ascent Base >> Repair and Diagnosis (Single Page) >> Engine Performance >> System >> Engine Control System (Diagnostics) (1 Of 4) >> Diagnostic Procedure with Diagnostic Trouble Code (DTC) >> DTC P0111: Intake Air Temperature Sensor 1 Circuit Range/Performance Bank 1 >> General Description >> Component Description
April 5, 2026: LEMON Manuals is launched! Read the announcement.

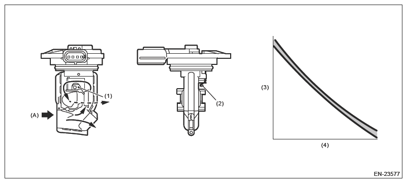
Component Description

G16350288Courtesy of SUBARU OF AMERICA, INC.
(A) Air
(1) Air flow sensor
(2) Intake air temperature sensor
(3) Resistance value (Ω)
(4) Intake air temperature (°C (°F))