LEMON Manuals: Even more car manuals for everyone: 1960-2025
Home >> Subaru >> 2023 >> Ascent Base >> Repair and Diagnosis (Single Page) >> Engine Performance >> System >> Engine Control System (Diagnostics) (2 Of 4) >> Diagnostic Procedure with Diagnostic Trouble Code (DTC) >> DTC P0455: EVAP System (CPC) Leak Detected (Large Leak) >> General Description >> Diagnostic Method >> Notes
April 5, 2026: LEMON Manuals is launched! Read the announcement.

Diagnostic Method: Notes

G16390497Courtesy of SUBARU OF AMERICA, INC.
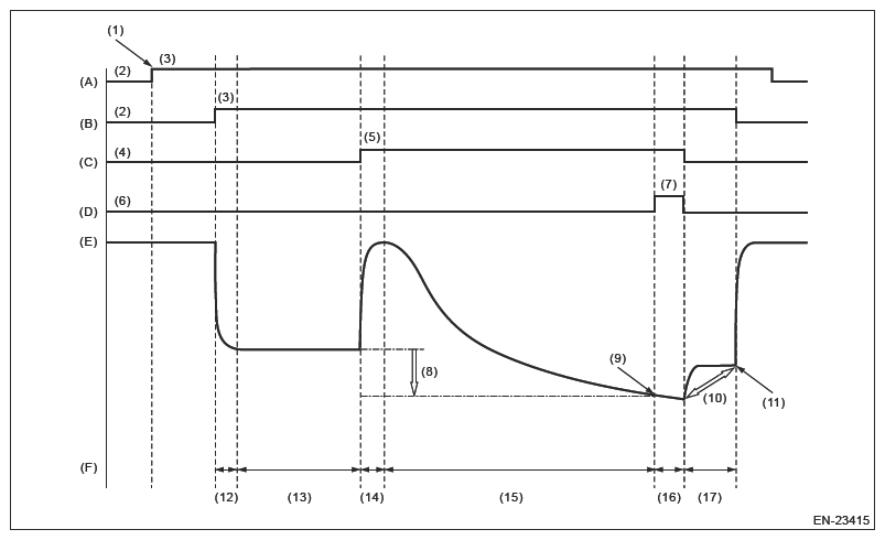
(A) ECM
(B) Vacuum Pump
(C) Switching Valve
(D) Solenoid valve for secondary purge
(E) Pressure Sensor
(F) Mode
(1) Activated by soak timer
(2) OFF
(3) ON
(4) OFF: Open orifice side
(5) ON: Close Evap. side
(6) Close
(7) Open
(8) Evap. System target pressure calculation
(9) Tank pressure (P tank)
(10) Judge the leak is occurred or not by comparing the pressures.
(11) Reference pressure (P ref)
(12) Mode A
(13) Mode B
(14) Mode C
(15) Mode D
(16) Mode D2
(17) Mode E
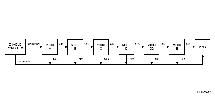
Mode Explanation of Mode DTC Diagnosis period
A Vacuum pump operation confirmation and characteristics stability P2404 7 s or less
B Measurement of reference pressure for setting the target negative pressure P2404 350 s or less
C Switching valve operation confirmation P2404 12 s or less
D Clogging of pipe diagnosis and leak pressure measurement P1451 1100 s or less
D2 Check valve open stuck P04AE 30 s or less
E 0.04 inch leak pressure measurement P0455 50 s or less
0.02 inch leak pressure measurement P0456
Reference pressure measurement for judgment P2401
G13202513Courtesy of SUBARU OF AMERICA, INC.