LEMON Manuals: Even more car manuals for everyone: 1960-2025
Home >> Subaru >> 2023 >> Outback Base >> Repair and Diagnosis >> Engine Performance >> System >> Engine Control System (2.5L) (Diagnostics) (1 Of 4) >> Diagnostic Procedure with Diagnostic Trouble Code (DTC) >> DTC P0116: Engine Coolant Temperature Sensor 1 Circuit Range/Performance >> General Description >> Component Description
April 5, 2026: LEMON Manuals is launched! Read the announcement.

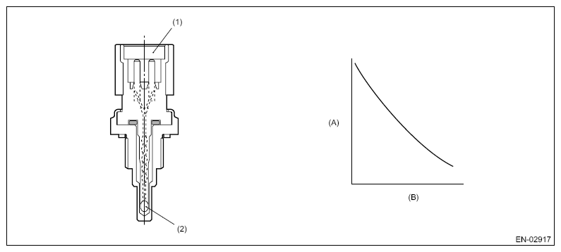
Component Description

G16350295Courtesy of SUBARU OF AMERICA, INC.
(A) Resistance value (kΩ) (B) Temperature (°C (°F))
(1) Connector
(2) Thermistor element