Prohibited Area For Sticker Attachment And Inspection
Do not attach stickers in the prohibited area on the windshield as follows. Clean the windshield glass if oil film, dirt or fogging that obstructs the visibility of each camera is found in the prohibited area, and repair or replace if the windshield is scratched. The vehicle inspection label that is required to be attached on the windshield should be attached on the specified position. If stickers or windshield-related issues adversely affect the visibility of the camera, the function of EyeSight may not work properly. Ref. to EYESIGHT>EYESIGHT SYSTEM>PROCEDURE>STEREO CAMERA .
CAUTION:
- Do not attach any foreign matter such as oil and fluid.
- As dirt on the front glass (inner side) in front of EyeSight camera may affect the recognition performance, be sure to clean the glass.
- Be sure to remove the stereo camera and lens hood before starting the work, since the lens portion and lens hood may receive dirt or may be damaged due to impact applied during cleaning.
- When replacing the windshield glass, be sure to replace it with the Subaru genuine windshield glass specially designed for EyeSight.
- If the glass is removed or replaced, always perform the stereo camera adjustment and inspection, the heater heating and cooling fan drive test, and the wide angle mono camera adjustment and inspection.
NOTE:
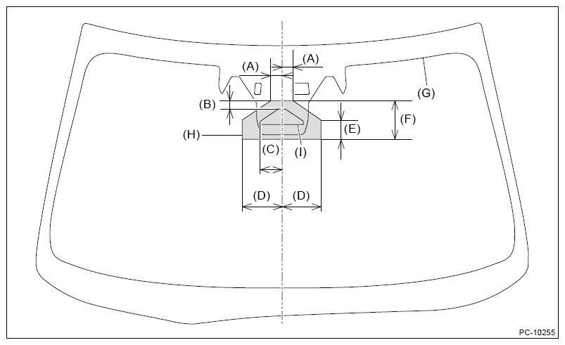
The prohibited area shown in the figure indicates the range for the SUBARU genuine accessory installation.
The illustration below shows from outside of the compartment.
- Sticker attachment prohibited area of the stereo camera
(A) 75.0 mm (2.95 in) (B) 130.0 mm (5.12 in) (C) 156.0 mm (6.14 in) (D) 65.0 mm (2.56 in) (E) 90.0 mm (3.54 in) (F) 136.0 mm (5.35 in) (G) 157.0 mm (6.18 in) (H) 103.0 mm (4.06 in) (I) 32.0 mm (1.26 in) (J) Prohibited area (K) Vehicle inspection label (L) Ceramic line - Sticker attachment prohibited area of the wide angle mono camera
(A) 40.0 mm (1.57 in) (B) 30.0 mm (1.18 in) (C) 80.0 mm (3.15 in) (D) 145.0 mm (5.71 in) (E) 70.0 mm (2.76 in) (F) 140.0 mm (5.51 in) (G) Ceramic line (H) Prohibited area (I) Angle of view area of the wide angle mono camera