LEMON Manuals: Even more car manuals for everyone: 1960-2025
Home >> Subaru >> 2024 >> BRZ Premium >> Repair and Diagnosis >> Transmission >> Automatic Trans >> Transmission Control System >> General Description >> Components With Torque Specifications >> Select Lever Rod
April 5, 2026: LEMON Manuals is launched! Read the announcement.

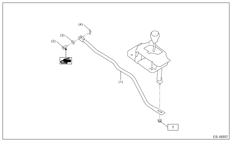
Select Lever Rod

Fig 1: Select Lever Rod Components Location
G16525426Courtesy of SUBARU OF AMERICA, INC.
(1) Select lever rod
(2) Shaft(1)
(3) Wave washer(1)
(4) Snap pin
(1) The shaft and the wave washer are set parts.

Tightening torque: N.m (kgf-m, ft-lb) 

T: 18 (1.8, 13.3)