LEMON Manuals: Even more car manuals for everyone: 1960-2025
Home >> Subaru >> 2024 >> Forester Base >> Repair and Diagnosis (Single Page) >> Engine Performance >> System >> Engine Control System (Diagnostics) (2 Of 4) >> Diagnostic Procedure with Diagnostic Trouble Code (DTC) >> DTC P0455: EVAP System (CPC) Leak Detected (Large Leak) >> General Description >> Diagnostic Method >> Notes
April 5, 2026: LEMON Manuals is launched! Read the announcement.

Diagnostic Method: Notes

G13227863Courtesy of SUBARU OF AMERICA, INC.
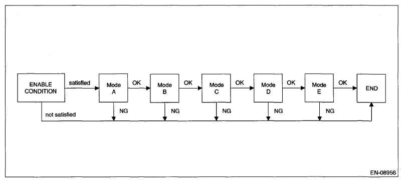
DIAGNOSTIC METHOD

Mode Explanation of Mode Diagnosis period DTC
A Vacuum pump operation confirmation and characteristics stability 7 s or less P2404
B Measurement of reference pressure for setting the target negative pressure 350 s or less P2404
C Switching valve operation confirmation 12 s or less P2404
D 0.04 inch leak pressure measurement 900 s or less P0455
0.02 inch leak pressure measurement P0456
Clogging of pipe diagnosis and leak pressure measurement P1451
E Reference pressure measurement for judgment 50 s or less P2401
G07669739Courtesy of SUBARU OF AMERICA, INC.