LEMON Manuals: Even more car manuals for everyone: 1960-2025
Home >> Subaru >> 2024 >> WRX Base >> Repair and Diagnosis >> Electrical >> Charging Systems >> Engine Starting System & Charging System >> Battery Cable Assembly >> Installation
April 5, 2026: LEMON Manuals is launched! Read the announcement.

Battery Cable Assembly: Installation

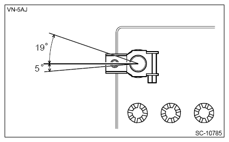
  1. Install the terminal base.
    NOTE: Install the part so that the center of the terminal base comes within the range shown in the figure.
    G14601668Courtesy of SUBARU OF AMERICA, INC.

    Tightening torque: 

    6 N.m (0.6 kgf-m, 4.4 ft-lb)

    G14601667Courtesy of SUBARU OF AMERICA, INC.
  2. Set the battery cable assembly, and secure the battery cable assembly to the bracket with claw.
    G14601666Courtesy of SUBARU OF AMERICA, INC.
  3. Secure the battery cable assembly to the intake manifold assembly with claw.
    G14601665Courtesy of SUBARU OF AMERICA, INC.
  4. Connect the terminal B (A) and ground terminal (B). (CVT model)

    Tightening torque: 

    T1: 11 N.m (1.1 kgf-m, 8.1 ft-lb)

    T2: 14 N.m (1.4 kgf-m, 10.3 ft-lb)

    Fig 1: Ground Terminal With Torque Specification (CVT Model)
    G14601672Courtesy of SUBARU OF AMERICA, INC.
  5. Connect the connector (A), terminal B (B) and ground terminal (C). (MT model)

    Tightening torque: 

    T1: 11 N.m (1.1 kgf-m, 8.1 ft-lb)

    T2: 14 N.m (1.4 kgf-m, 10.3 ft-lb)

    Fig 2: Ground Terminal With Torque Specification (MT Model)
    G14601673Courtesy of SUBARU OF AMERICA, INC.
  6. Connect the connector.
    G14601662Courtesy of SUBARU OF AMERICA, INC.
  7. Install the intercooler. Ref. to INTAKE (INDUCTION) (H4DOTC)>INTERCOOLER>INSTALLATION .
  8. Secure the battery cable assembly with the clip (E) and clip (D).
  9. Connect the terminal (C), connector (B) and connector (A).

    Tightening torque: 

    15.5 N.m (1.6 kgf-m, 11.4 ft-lb)

    G14601661Courtesy of SUBARU OF AMERICA, INC.
  10. Install the V-belt cover.
    NOTE:
    • Check the grommet for peel-off or disengagement.
    • Be careful not to deform the bracket during installation.

    Tightening torque: 

    7 N.m (0.7 kgf-m, 5.2 ft-lb)

  11. Connect the terminal (B) and the terminal (A) to the slow blow fuse (C).

    Tightening torque: 

    5.5 N.m (0.6 kgf-m, 4.1 ft-lb)

    G14601659Courtesy of SUBARU OF AMERICA, INC.
  12. Set the terminal of battery cable assembly to the terminal base.
    G14601658Courtesy of SUBARU OF AMERICA, INC.
  13. Connect the slow blow fuse to the terminal base.

    Tightening torque: 

    7.5 N.m (0.8 kgf-m, 5.5 ft-lb)

    G14601657Courtesy of SUBARU OF AMERICA, INC.
  14. Connect the terminal (C), terminal (B) and terminal (A).

    Tightening torque: 

    T1: 7.5 N.m (0.8 kgf-m, 5.5 ft-lb)

    T2: 14 N.m (1.4 kgf-m, 10.3 ft-lb)

    Fig 3: Terminal Nuts With Torque Specification
    G14601679Courtesy of SUBARU OF AMERICA, INC.
  15. Install the battery sensor harness to the clip (E).
  16. Install the battery cable holder (D), and connect the ground terminal (C).
    CAUTION: Install the battery sensor and battery cable assembly without applying an excessive force.

    Tightening torque: 

    7.5 N.m (0.8 kgf-m, 5.5 ft-lb)

  17. Install the ground cable to the clip (B), and connect the ground terminal (A).

    Tightening torque: 

    13 N.m (1.3 kgf-m, 9.6 ft-lb)

    G14601655Courtesy of SUBARU OF AMERICA, INC.