LEMON Manuals: Even more car manuals for everyone: 1960-2025
Home >> Suzuki >> 2000 >> Esteem GL Sedan L4-1.8L >> Repair and Diagnosis >> Transmission and Drivetrain >> Manual Transmission/Transaxle >> Service and Repair >> Unit Overhaul >> Transmission Unit Assembly >> Differential Assembly
April 5, 2026: LEMON Manuals is launched! Read the announcement.

Differential Assembly

INSTALLATION





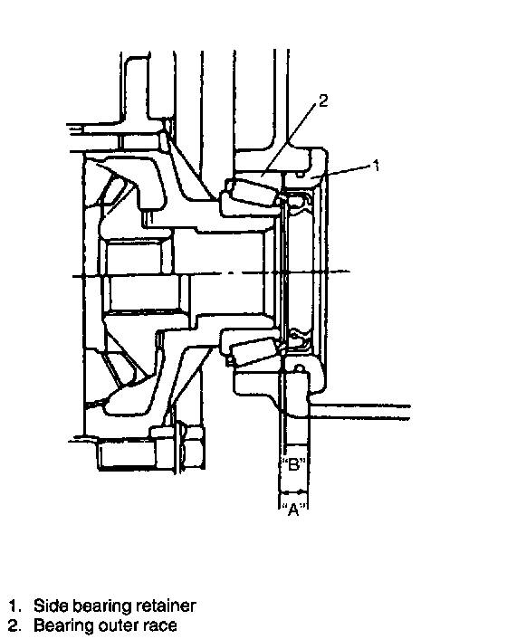
1. Install differential assembly into right case.
2. Measure clearance "A" (between differential side face and side bearing outer race) and "B" (bearing retainer).








3. Select the shim referring to the table.





4. Insert speedometer driven gear case assembly applied with oil to its O-ring and gear, then tighten it with bolt.

CAUTION:
- While inserting case assembly into transmission, turn final gear by hand slightly so that gear can mesh easily.
- Never push or hit slit portion of case when inserting it. Such attempt may cause case to break.

Tightening Torque
(a): 5.5 Nm (0.55 kg.m, 4.0 ft. lbs.)