LEMON Manuals: Even more car manuals for everyone: 1960-2025
Home >> Suzuki >> 2002 >> Aerio L4-2.0L >> Repair and Diagnosis >> Body and Frame >> Locks >> Keyless Entry >> Keyless Entry Relay >> Testing and Inspection
April 5, 2026: LEMON Manuals is launched! Read the announcement.

Keyless Entry Relay: Testing and Inspection

Keyless Answer Back Relay Inspection

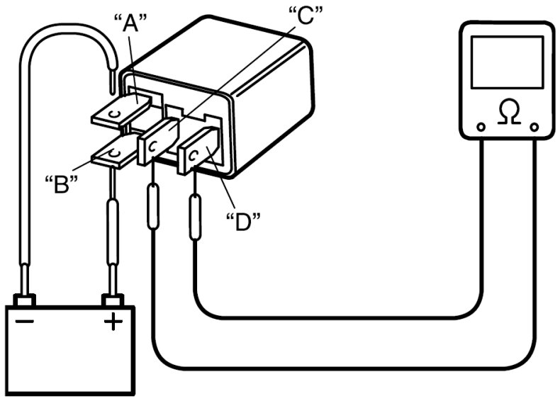
1. Check that there is no continuity between terminal "C" and "D". If there is continuity, replace relay.
2. Connect battery positive (+) terminal to terminal "B" of relay.
Connect battery negative (-) terminal to terminal "A" of relay.
Check continuity between terminal "C" and "D".
If there is no continuity when relay is connected to the battery, replace relay.