LEMON Manuals: Even more car manuals for everyone: 1960-2025
Home >> Suzuki >> 2002 >> Aerio L4-2.0L >> Repair and Diagnosis >> Heating and Air Conditioning >> Control Module HVAC >> Testing and Inspection
April 5, 2026: LEMON Manuals is launched! Read the announcement.

Control Module HVAC: Testing and Inspection

A/C System Inspection at ECM

Voltage Check
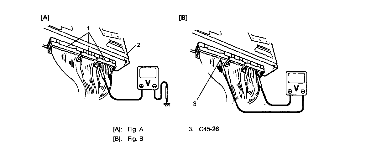
ECM and its circuits can be checked at ECM wiring couplers by measuring voltage.

CAUTION: ECM cannot be checked by itself. It is strictly prohibited to connect voltmeter or ohmmeter to ECM with couplers disconnected from ECM.

1. Remove ECM from vehicle by referring to "Engine Control Module (ECM) Removal and Installation:".
2. Connect ECM couplers (1) to ECM (2).




3. Check voltage at each terminal of couplers connected.

NOTE: As each terminal voltage is affected by the battery voltage, confirm that the battery voltage is 11 V or more when ignition switch is ON position.




Terminal arrangement of ECM coupler (Viewed from harness side)


ECM Voltage Values Table For Relation Of A/C Control Part 1:




ECM Voltage Values Table For Relation Of A/C Control Part 2:




ECM Voltage Values Table For Relation Of A/C Control Part 3: