LEMON Manuals: Even more car manuals for everyone: 1960-2025
Home >> Suzuki >> 2003 >> Vitara 2D Utility, RWD, Automatic >> Repair and Diagnosis >> Engine Performance >> Ignition System >> Diagnostic Information And Procedures >> Ignition System Check >> Reference
April 5, 2026: LEMON Manuals is launched! Read the announcement.

Ignition System Check: Reference

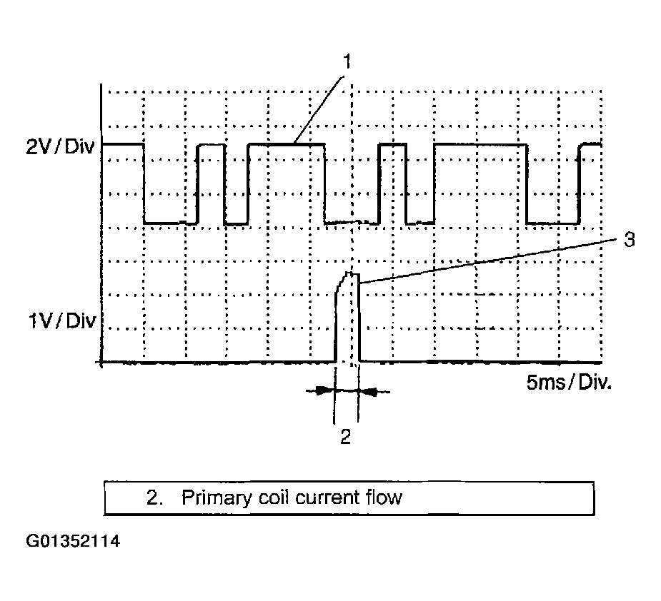
Oscilloscope waveforms of CMP sensor (1) and No. 1 ignition trigger signal (3) are as shown in the figure when connecting oscilloscope between terminals "C51-2-26" and "C51-3-26" of ECM (PCM) connectors connected to ECM (PCM), and between terminal "C51-2-24" and ground. For ECM (PCM) terminal assignment, refer to TEST PROCEDURES , Pin Voltage Chart.

Fig 1: Oscilloscope Waveforms Patterns
G01352114Courtesy of SUZUKI OF AMERICA CORP.