LEMON Manuals: Even more car manuals for everyone: 1960-2025
Home >> Suzuki >> 2004 >> Aerio S, Automatic >> Repair and Diagnosis >> Engine Performance >> Engine Control Systems >> Engine General Information & Diagnosis >> Diagnostic Information and Procedure >> DTC P0122: Throttle Position Sensor Circuit Low Input >> System/Wiring Diagram
April 5, 2026: LEMON Manuals is launched! Read the announcement.

System/Wiring Diagram

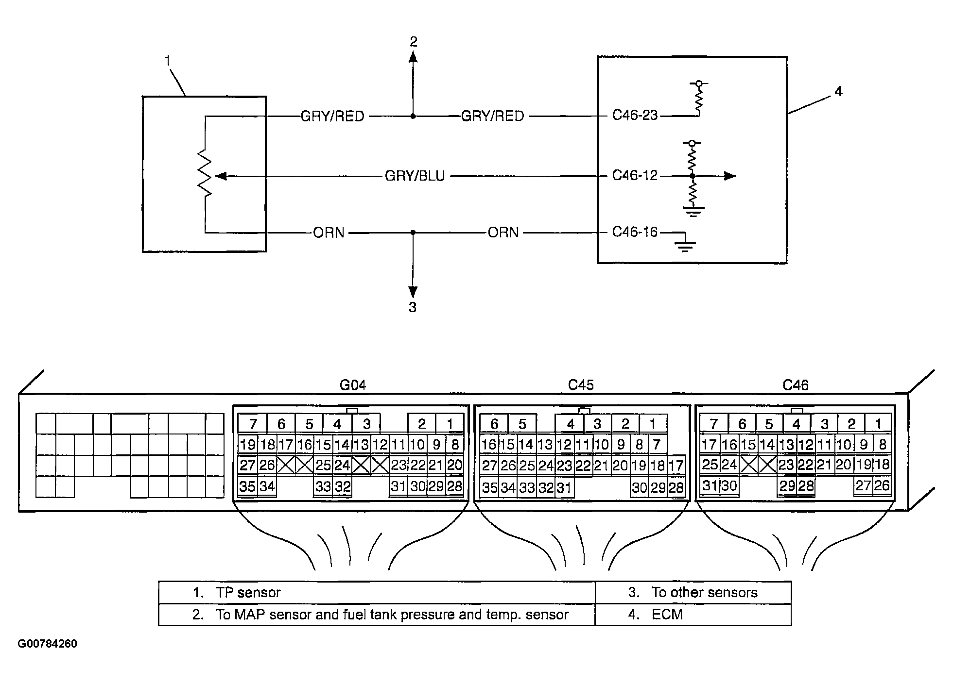
Fig 1: DTC P0122 Throttle Position Sensor Circuit Low Input - System Wiring Diagram
G00784260Courtesy of SUZUKI OF AMERICA CORP.