LEMON Manuals: Even more car manuals for everyone: 1960-2025
Home >> Suzuki >> 2004 >> Aerio S, Automatic >> Repair and Diagnosis >> Engine Performance >> Engine Control Systems >> Engine General Information & Diagnosis >> Diagnostic Information and Procedure >> DTC P0123: Throttle Position Sensor Circuit High Input >> System/Wiring Diagram
April 5, 2026: LEMON Manuals is launched! Read the announcement.

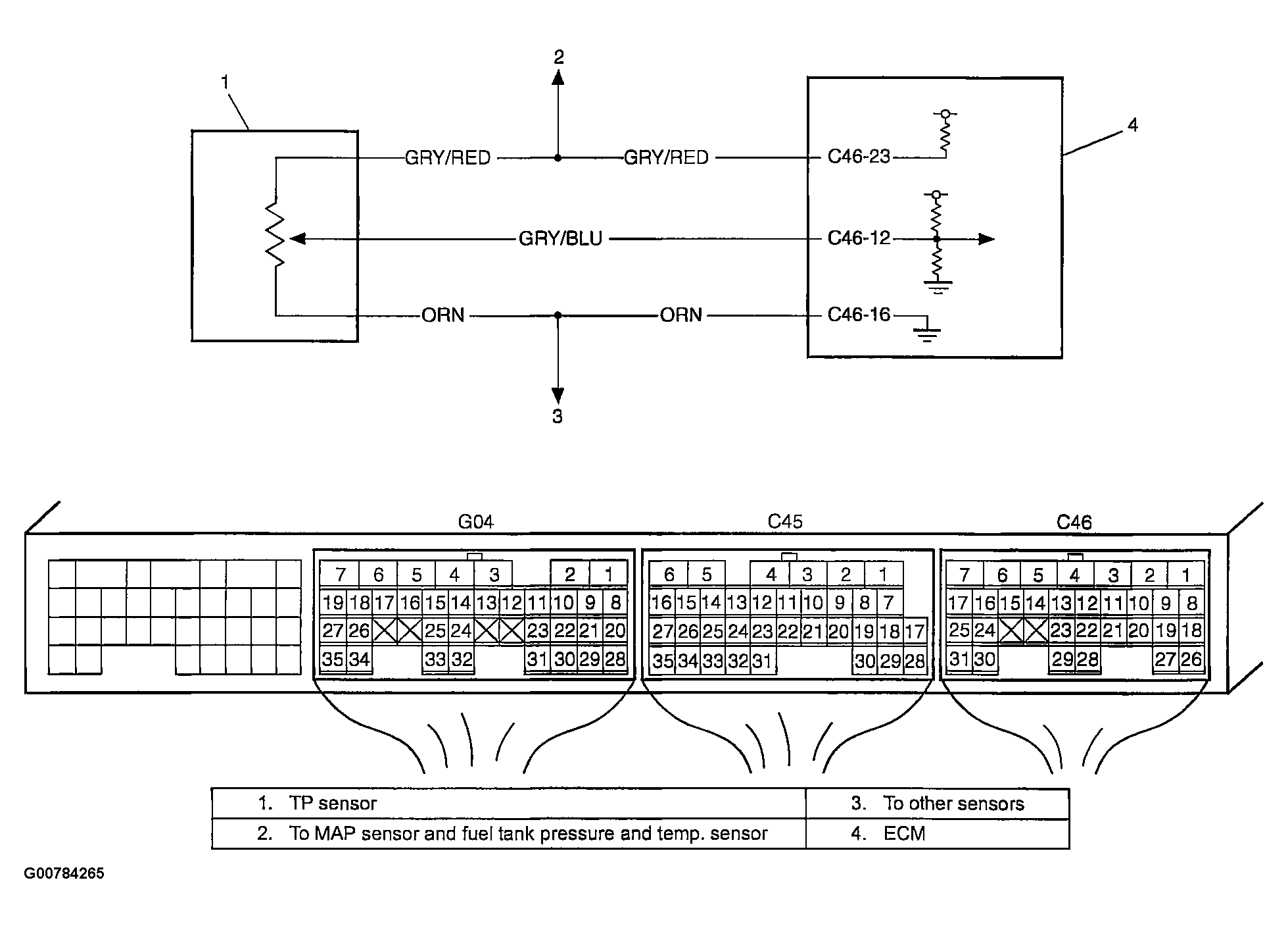
System/Wiring Diagram

Fig 1: DTC P0123 Throttle Position Sensor Circuit High Input - System Wiring Diagram
G00784265Courtesy of SUZUKI OF AMERICA CORP.