LEMON Manuals: Even more car manuals for everyone: 1960-2025
Home >> Suzuki >> 2004 >> Aerio S, Automatic >> Repair and Diagnosis >> Engine Performance >> Engine Control Systems >> Engine General Information & Diagnosis >> Diagnostic Information and Procedure >> DTC P0420: Catalyst System Efficiency Below Threshold >> Circuit Description >> Reference
April 5, 2026: LEMON Manuals is launched! Read the announcement.

Circuit Description: Reference

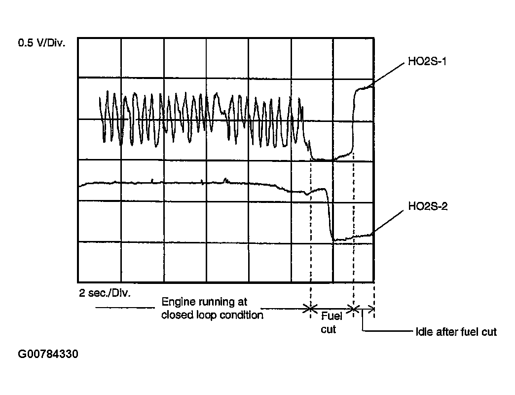
Fig 1: Identifying Oscilloscope Waveforms
G00784330Courtesy of SUZUKI OF AMERICA CORP.