LEMON Manuals: Even more car manuals for everyone: 1960-2025
Home >> Suzuki >> 2004 >> Forenza EX >> Repair and Diagnosis >> Body & Frame >> Glass/Windows/Mirrors >> Repair Instructions >> Inside Rearview Mirror Installation >> Notes
April 5, 2026: LEMON Manuals is launched! Read the announcement.

Inside Rearview Mirror Installation: Notes

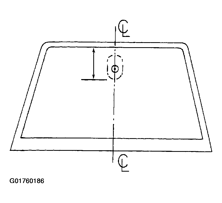
The inside rearview mirror is attached to a support which is secured to the windshield glass. The support is installed by the glass supplier using a plastic-polyvinyl butyl adhesive.

Service replacement windshield glass has the mirror support bonded to the glass assembly. In order to install a detached mirror support or to install a new part, the following items will be needed: