LEMON Manuals: Even more car manuals for everyone: 1960-2025
Home >> Suzuki >> 2004 >> Forenza EX >> Repair and Diagnosis >> Steering >> Power Steering >> Power Assisted Steering System >> Diagnostic Information and Procedures >> SSPS System Self-Diagnosis >> On-Board Diagnostic (OBD II) System Check - Engine Controls >> Notes
April 5, 2026: LEMON Manuals is launched! Read the announcement.

On-Board Diagnostic (OBD II) System Check - Engine Controls: Notes

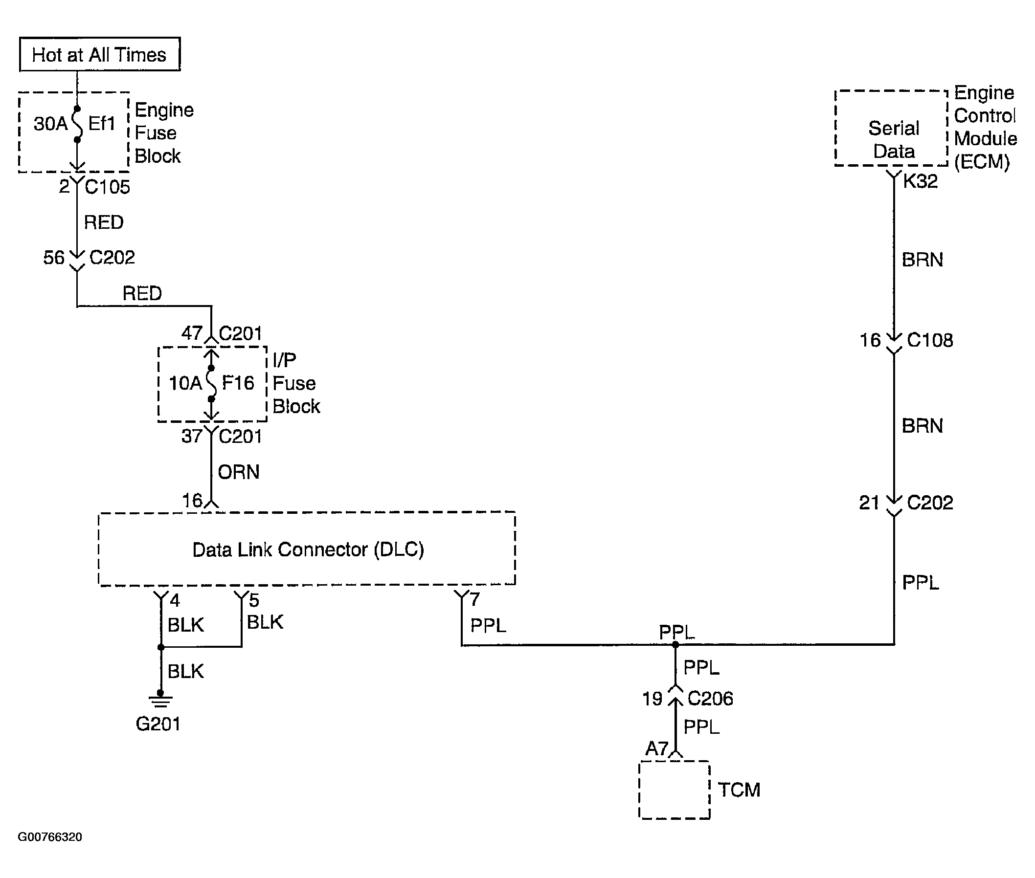
Fig 1: On-Board Diagnostic (OBD II) System Check - Diagnostic Wiring Diagram
G00766320Courtesy of SUZUKI OF AMERICA CORP.