LEMON Manuals: Even more car manuals for everyone: 1960-2025
Home >> Suzuki >> 2004 >> Swift + >> Repair and Diagnosis (Single Page) >> Quick Lookups >> Wiring Diagrams >> OEM Connector End Views >> ABS Connector End Views >> Electronic Brake Control Module (EBCM) Connector End Views
April 5, 2026: LEMON Manuals is launched! Read the announcement.

Electronic Brake Control Module (EBCM) Connector End Views

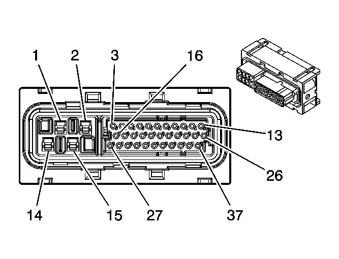
Electronic Brake Control Module (EBCM) (DBC7)

GM1468390Courtesy of GENERAL MOTORS CORP.
Connector Part Information
  • PED 15328988
  • 37-Way F Micro-Pack 100W Sealed
Pin Wire Color Circuit No. Function
1 RD 42 Battery Positive Voltage
2 RD 42 Battery Positive Voltage
3-4 - - Not Used
5 D-GN/WH 884 Left Rear Wheel Speed Sensor Signal
6 BN/BK 885 Left Rear Wheel Speed Sensor Return
7 PU 883 Right Rear Wheel Speed Sensor Return
8 L-BU 882 Right Rear Wheel Speed Sensor Signal
9 WH 833 Right Front Wheel Speed Sensor Return
10 BN 872 Right Front Wheel Speed Sensor Signal
11 L-GN 873 Left Front Wheel Speed Sensor Return
12 D-BU 830 Left Front Wheel Speed Sensor Signal
13 RD/YE 241 Ignition 3 Voltage
14 BK 50 Ground
15 BK 50 Ground
16-17 - - Not Used
18 D-BU 874 ABS Indicator Signal
19-20 - - Not Used
21 BK/WH 2051 Serial Data
22 - - Not Used
23 GY 875 Base Brake Failure Signal
24-28 - - Not Used
29 WH 834 Rough Road Signal
30-32 - - Not Used
33 BN 20 Stop Lamp Supply Voltage/Stop Lamp Switch Signal
34-36 - - Not Used
37 - - Vent Tube
Electronic Brake Control Module (EBCM) (Mando)

GM1506608Courtesy of GENERAL MOTORS CORP.
Connector Part Information
  • AMP 368482-1
  • 25-Way PLUG ASSY FOR 25P ABS (BK)
Pin Wire Color Circuit No. Function
1 BN 872 Right Front Wheel Speed Sensor Low Reference
2 WH 833 Right Front Wheel Speed Sensor
3 WH 834 Rough Road Signal
4 PK 639 Ignition 1 Voltage
5 D-GN/WH 884 Left Rear Wheel Speed Signal
6 BN/BK 885 Left Rear Wheel Speed Sensor Return
7 BK/WH 2051 Ground
8 BK 50 Ground
9 RD 42 Battery Positive Voltage
10-15 - - Not Used
16 GY 875 Base Brake Failure Signal
17 - - Not Used
18 BN 20 Stop Lamp Supply Voltage
19 D-BU 830 Left Front Wheel Speed Sensor Signal
20 L-GN 873 Left Front Wheel Speed Sensor Return
21 - - Not Used
22 PU 883 Right Rear Wheel Speed Sensor Return
23 L-BU 882 Right Rear Wheel Speed Sensor Signal
24 BK 50 Ground
25 RD 42 Battery Positive Voltage