LEMON Manuals: Even more car manuals for everyone: 1960-2025
Home >> Suzuki >> 2004 >> Verona S >> Repair and Diagnosis >> Engine Performance >> Engine Control Systems >> Engine General Information & Diagnosis >> Diagnostic Information and Procedures >> DTC P0532: A/C Pressure Sensor Circuit Low Input >> Notes
April 5, 2026: LEMON Manuals is launched! Read the announcement.

DTC P0532: A/C Pressure Sensor Circuit Low Input: Notes

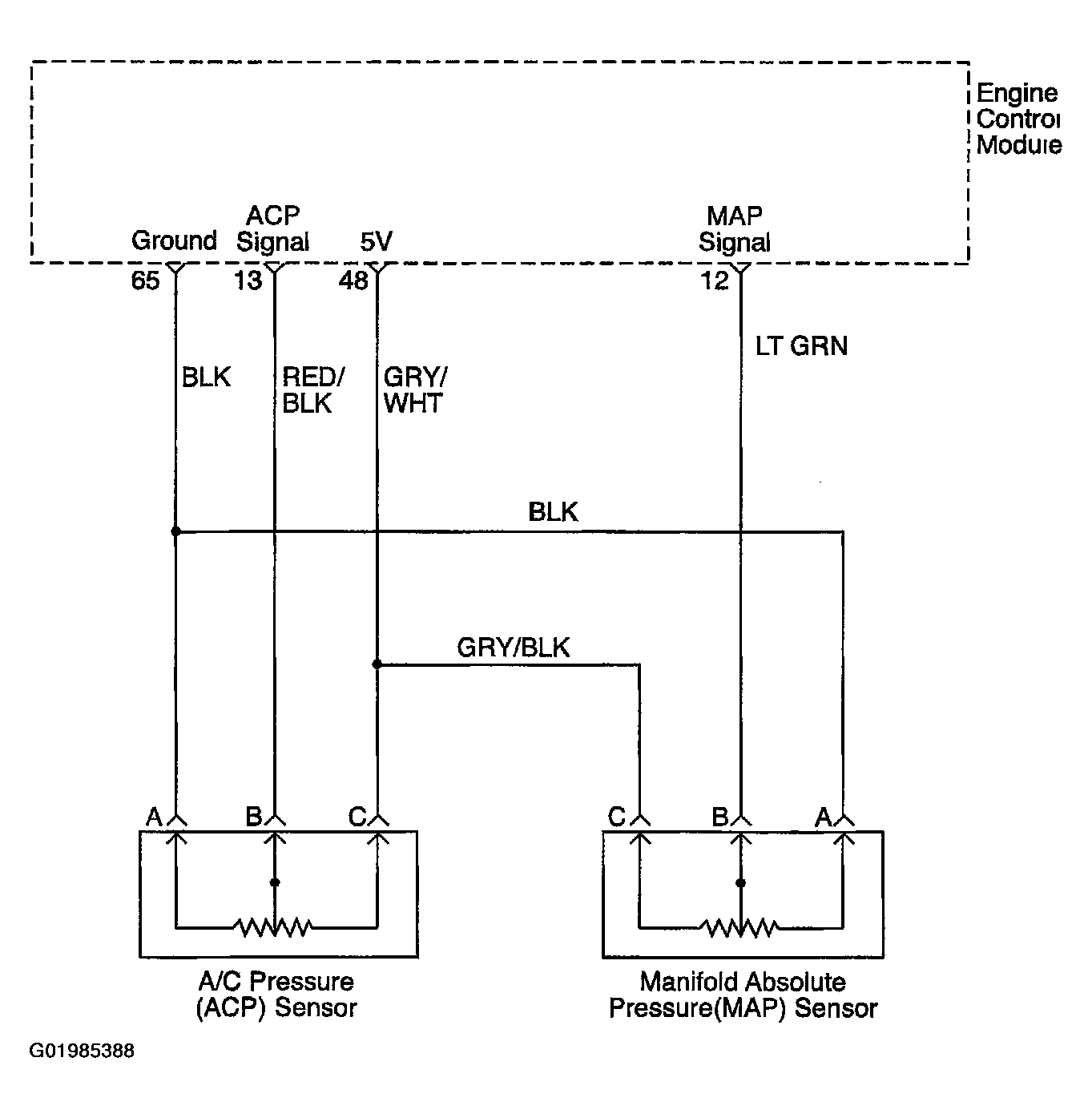
Fig 1: DTC P0532: A/C Pressure Sensor Circuit Low Input - System Wiring Diagram
G01985388Courtesy of SUZUKI OF AMERICA CORP.