LEMON Manuals: Even more car manuals for everyone: 1960-2025
Home >> Suzuki >> 2005 >> Verona EX >> Repair and Diagnosis >> Engine Performance >> System >> Engine General Information And Diagnosis >> Diagnostic Information and Procedures >> DTC U0121 CAN Communication Error (No Message from ABS Module) >> Notes
April 5, 2026: LEMON Manuals is launched! Read the announcement.

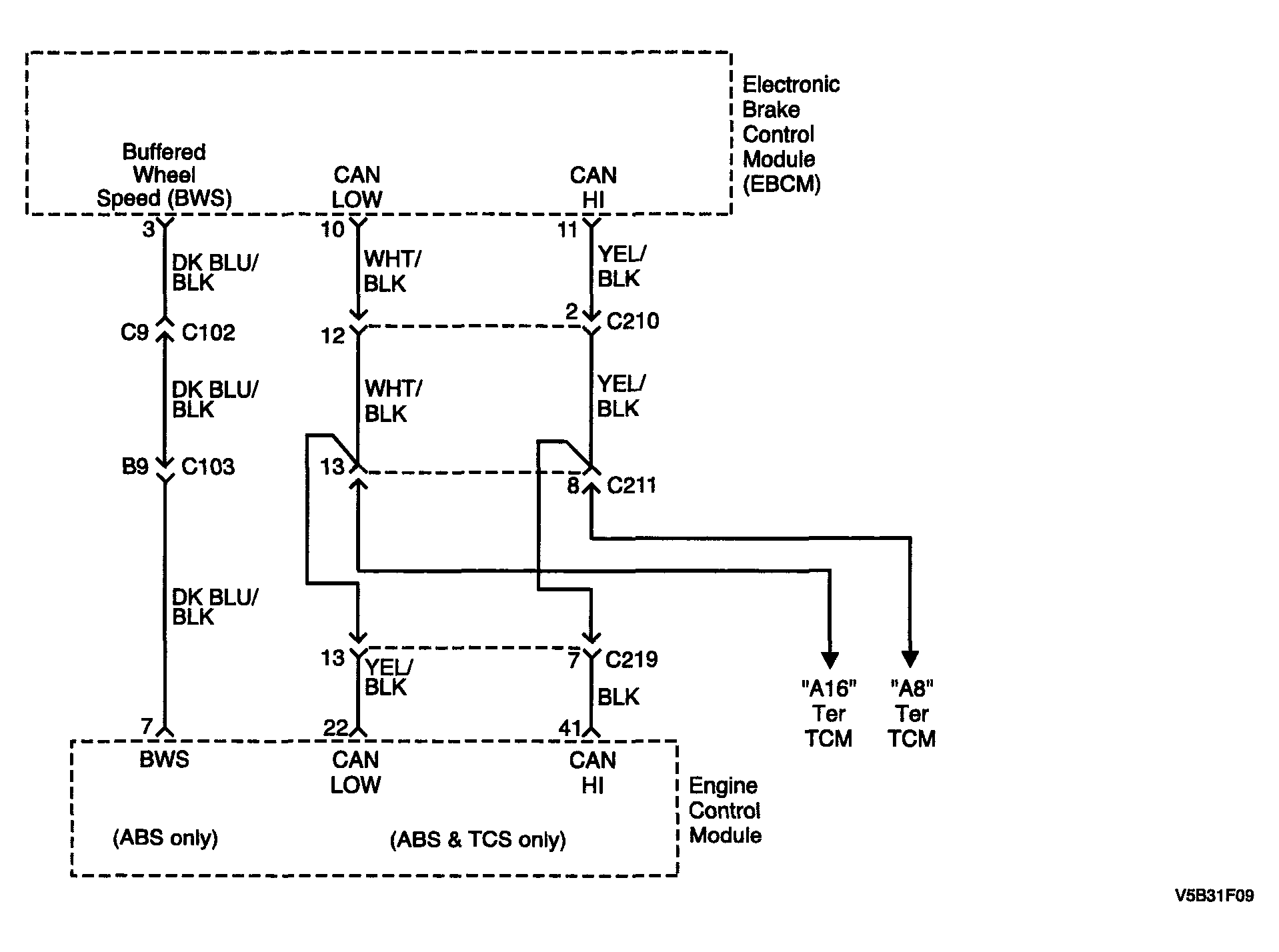
DTC U0121 CAN Communication Error (No Message from ABS Module): Notes

Fig 1: U0121 CAN Communication Error (No Message From ABS Module) - Circuit Diagram
G04094535Courtesy of SUZUKI OF AMERICA CORP.