LEMON Manuals: Even more car manuals for everyone: 1960-2025
Home >> Suzuki >> 2005 >> XL-7 2WD V6-2.7L >> Repair and Diagnosis >> Powertrain Management >> Computers and Control Systems >> Relays and Modules - Computers and Control Systems >> Engine Control Module >> Diagrams >> Diagnostic Aids >> Electrical Circuit Inspection Procedure
April 5, 2026: LEMON Manuals is launched! Read the announcement.

Electrical Circuit Inspection Procedure

ELECTRICAL CIRCUIT INSPECTION PROCEDURE

While there are various electrical circuit inspection methods, described here is a general method to check its open and short circuit by using an ohmmeter and a voltmeter.

Open Circuit Check
Possible causes for the open circuit are as follows. As the cause is in the connector or terminal in many cases, they need to be checked particularly carefully.
- Loose connection of connector
- Poor contact of terminal (due to dirt, corrosion or rust on it, poor contact tension, entry of foreign object etc.)
- Wire harness being open When checking system circuits including an electronic control unit such as ECM, TCM, ABS control module, etc., it is important to perform careful check, starting with items which are easier to check.
1. Disconnect negative cable from battery




2. Check each connector at both ends of the circuit being checked for loose connection. Also check lock condition of connector if equipped with connector lock.




3. Using a test male terminal, check both terminals of the circuit being checked for contact tension of its female terminal. Check each terminal visually for poor contact (possibly caused by dirt, corrosion, rust entry of foreign object, etc.). At the same time, check to make sure that each terminal is locked in the connector fully.




4. Using continuity check or voltage check procedure, check the wire harness for open circuit and poor connection with its terminals. Locate abnormality, if any.

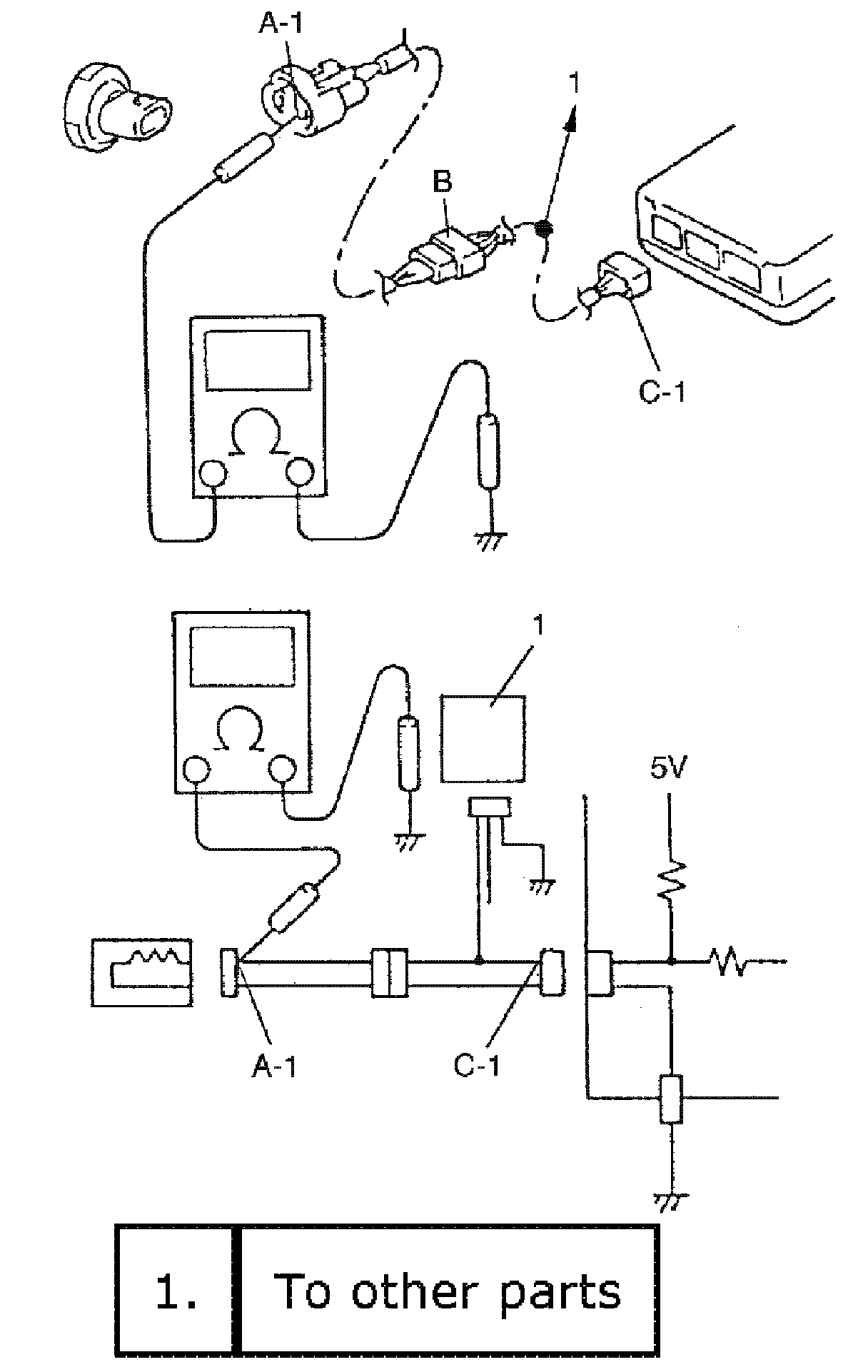
Continuity check




1. Measure resistance between connector terminals at both ends of the circuit being checked (between "A-1" and "C-1" in the figure). If no continuity is indicated (infinity or over limit), that means that the circuit is open between terminals "A-1" and "C-1".




2. Disconnect the connector included in the circuit (connector-B in the figure) and measure resistance between terminals "A-1" and "B-1". If no continuity is indicated, that means that the circuit is open between terminals "A-1" and "B-1". If continuity is indicated, there is an open circuit between terminals "B-1" and "C-1" or an abnormality in connector-B.

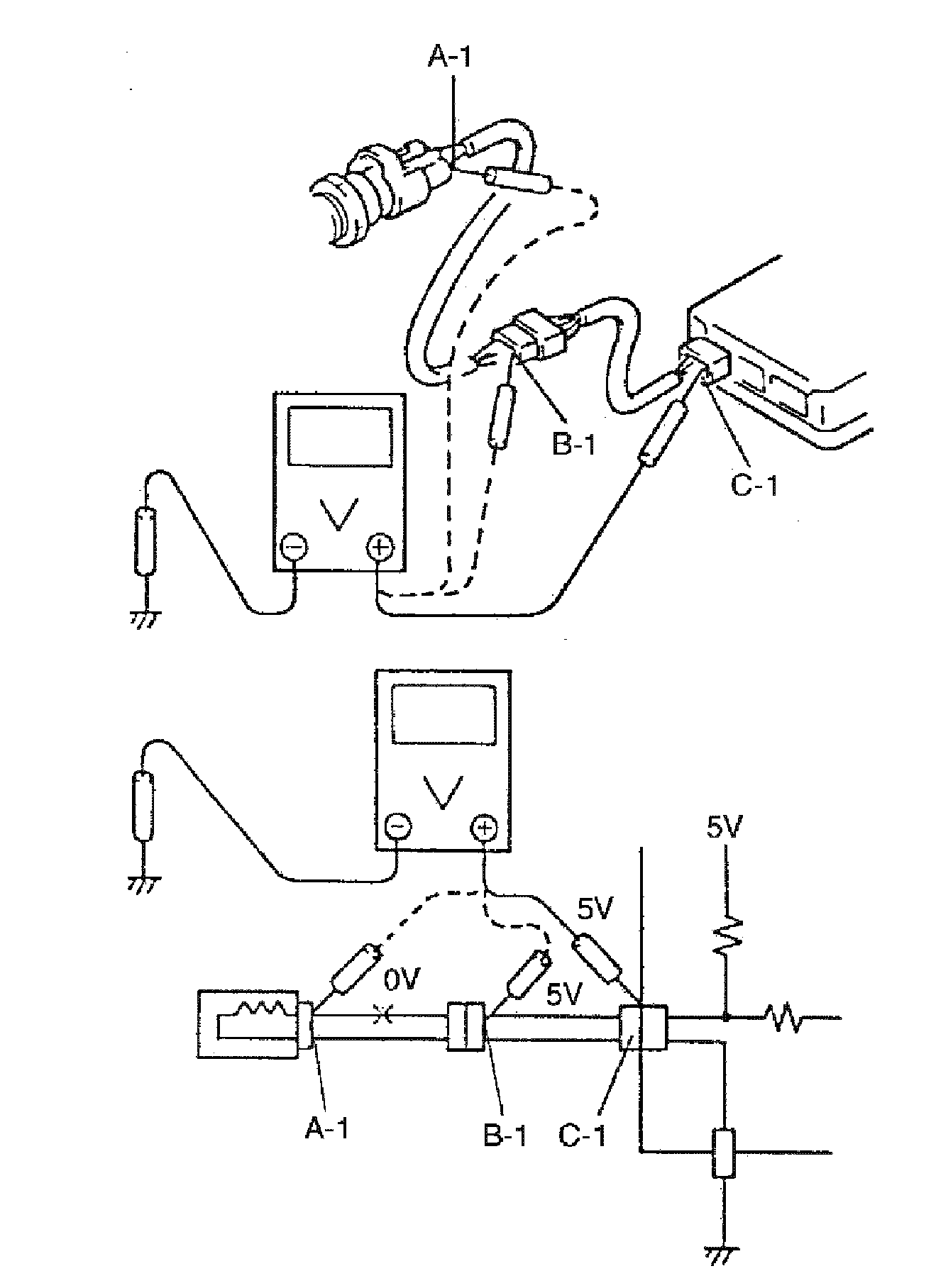
Voltage check
If voltage is supplied to the circuit being checked, voltage check can be used as circuit check.

1. With all connectors connected and voltage applied to the circuit being checked, measure voltage between each terminal and body ground.
a. If measurements were taken as shown in figure and results were as listed below, it means that the circuit is open between terminals "B-1" and "A-1".
Voltage between each terminal and body ground
"C-1" and body ground: Approx. 5 V
"B-1" and body ground: Approx. 5 V
"A-1" and body ground: 0 V




b. Also, if measured values were as listed below, it means that there is a resistance (abnormality) of such level that corresponds to the voltage drop in the circuit between terminals "A-1" and "B-1".
Voltage between
"C-1" and body ground: Approx. 5 V
"B-1" and body ground: Approx. 5 V
"A-1" and body ground: Approx. 3 V
"A-1" and "B-1": 2 V voltage drop

Short Circuit Check (Wire Harness to Ground)
1. Disconnect negative cable from battery.
2. Disconnect connectors at both ends of the circuit to be checked.

NOTE: If the circuit to be checked is connected to other parts, disconnect all connectors of those parts. Otherwise, diagnosis will be misled.




3. Measure resistance between terminal at one end of circuit ("A-1" terminal in figure) and body ground. If continuity is indicated, it means that there is a short to ground between terminals "A-1" and "C-1" of the circuit.




4. Disconnect the connector included in circuit (connector B) and measure resistance between "A-1" and body ground. If continuity is indicated, it means that the circuit is shorted to the ground between terminals "A-1" and "B-1".