LEMON Manuals: Even more car manuals for everyone: 1960-2025
Home >> Suzuki >> 2006 >> Reno Base, Automatic >> Repair and Diagnosis >> Engine Performance >> System >> Engine Performance - Diagnostic Information And Procedures, DTC Index >> Diagnostic Information and Procedures >> On-Board Diagnostic (OBD II) System Check >> Notes
April 5, 2026: LEMON Manuals is launched! Read the announcement.

On-Board Diagnostic (OBD II) System Check: Notes

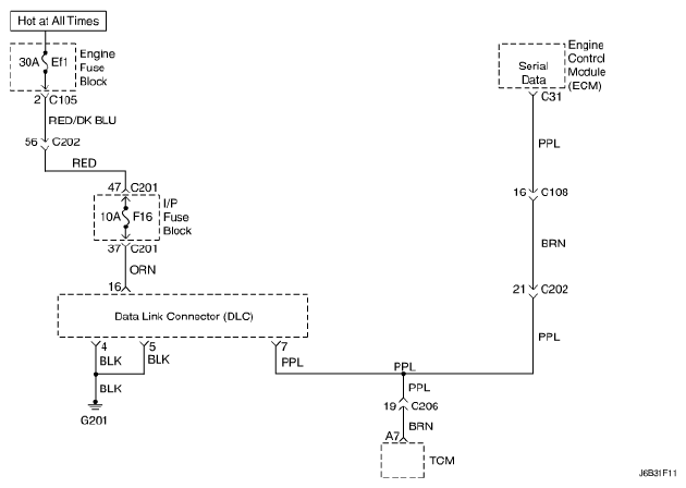
Fig 1: On-Board Diagnostic System - Circuit Diagram
G04716227Courtesy of SUZUKI OF AMERICA CORP.