LEMON Manuals: Even more car manuals for everyone: 1960-2025
Home >> Suzuki >> 2006 >> XL-7 2WD V6-2.7L >> Repair and Diagnosis >> Brakes and Traction Control >> Antilock Brakes / Traction Control Systems >> Description and Operation >> ABS Control Module Input / Output Signal Description
April 5, 2026: LEMON Manuals is launched! Read the announcement.

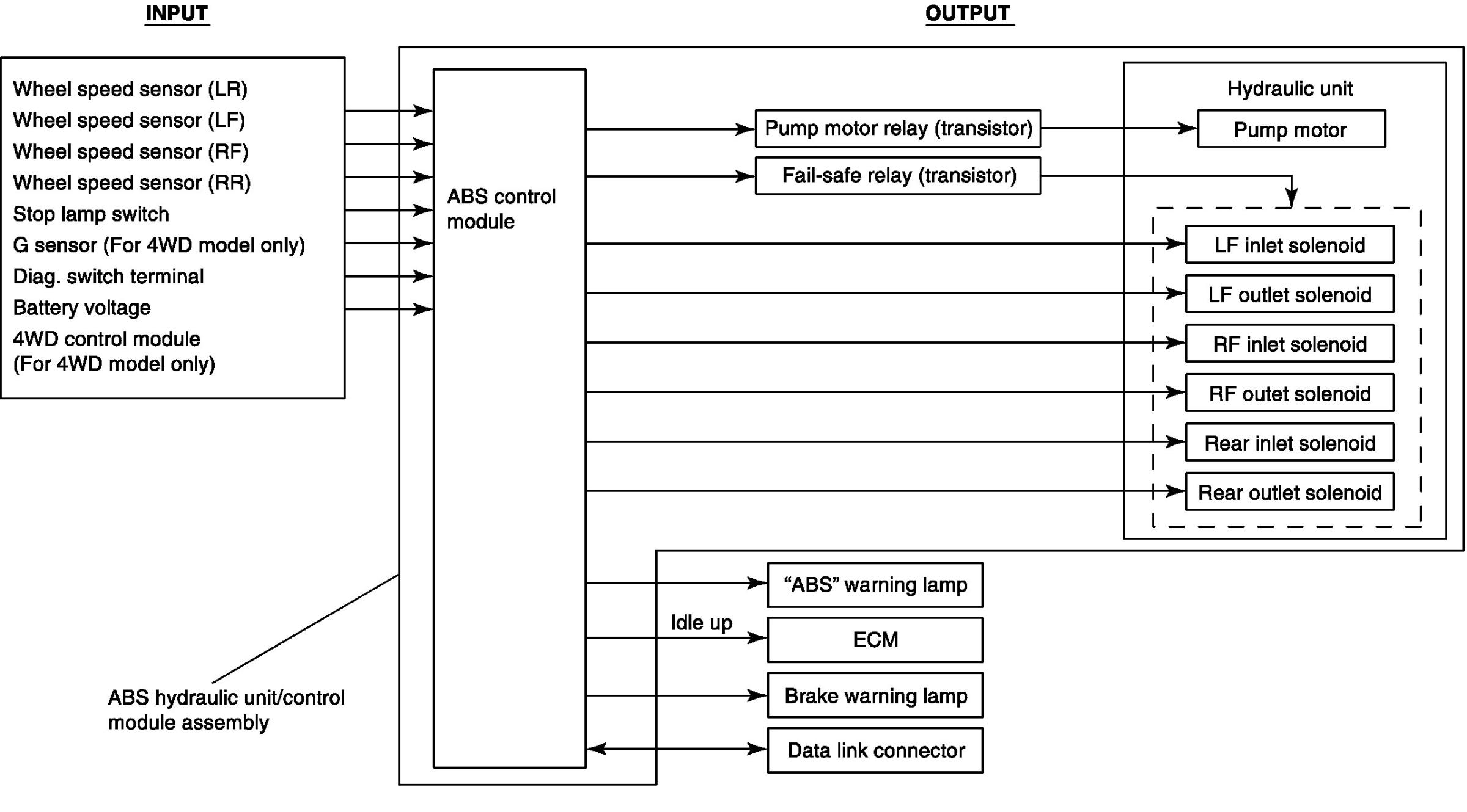
ABS Control Module Input / Output Signal Description

ABS Control Module Input / Output Signal Description: