LEMON Manuals: Even more car manuals for everyone: 1960-2025
Home >> Suzuki >> 2007 >> SX4 Base, Standard >> Repair and Diagnosis >> External Pages >> Different car >> Section 133 (Charging System) >> Diagnostic Information And Procedures >> Generator Test (Undercharged Battery Check) >> Notes
April 5, 2026: LEMON Manuals is launched! Read the announcement.

Generator Test (Undercharged Battery Check): Notes

WARNING: This page is about a different car, the 2008 Suzuki Grand Vitara, 2007 Suzuki Grand Vitara, and 2006 Suzuki Grand Vitara. However, it is still accessible from the selected car via links, so may be relevant.

This condition, as evidenced by slow cranking or indicator clear with red dot can be caused by one or more of the following conditions even though indicator lamp may be operating normal.

The following procedure also applies to cars with voltmeter and ammeter.

  1. Make sure that undercharged condition has not been caused by accessories left on for extended period of time.
  2. Check drive belt for proper tension.
  3. If battery defect is suspected, refer to BATTERY DESCRIPTION .
  4. Inspect wiring for defects. Check all connections for tightness and cleanliness, battery cable connections at battery, starting motor and ignition ground cable.
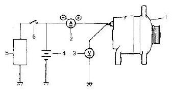
  5. Connect switch (6), load (5), battery (4), voltmeter (3) and ammeter (2) to generator (1) as shown in figure.

    Voltmeter: Set between generator "B" terminal and ground  .

    Ammeter: Set between generator "B" terminal and battery (+) terminal  .

    NOTE: Use fully charged battery.
    Fig 1: Testing Generator (Undercharged Battery Check)
    G04807710Courtesy of SUZUKI OF AMERICA CORP.
  6. Measure current and voltage.