LEMON Manuals: Even more car manuals for everyone: 1960-2025
Home >> Suzuki >> 2007 >> SX4 Base, Standard >> Repair and Diagnosis >> External Pages >> Different car >> Section 3 (Power Assisted Steering System) >> General Description >> Speed Sensitive Power Steering System Description >> Circuit Operation
April 5, 2026: LEMON Manuals is launched! Read the announcement.

Circuit Operation

WARNING: This page is about a different car, the 2005 Suzuki Reno and 2005 Suzuki Forenza. However, it is still accessible from the selected car via links, so may be relevant.

The SSPS system uses inputs from the speed sensor and steering wheel rotation sensor to the SSPS controller to determine the desired amount of power steering assist.

The SSPS control module constantly compares the amount of current flowing through the EVO actuator to the desired current it has calculated. The EVO actuator has a pintle that moves in and out of an orifice, regulating power steering fluid flow. The SSPS control module can change the amount of current flowing through the EVO actuator by varying the output duty cycle. If the EVO actuator is disconnected, the pintle will be pulled out of the orifice for maximum power steering assist.

The SSPS control module has the ability to detect faults in the steering wheel rotation sensor, the EVO actuator, or the circuitry to those components. Any default detected will cause the power steering assist to remain at maximum with the pintle in its normally retracted position for all speeds.

When the system is operating normally, increasing the vehicle speed will decrease power steering assist, allowing the driver to have improved road feel and directional stability. When sudden steering wheel turns are made, as in evasive maneuvers, they are detected by the SSPS control module through the steering wheel rotation sensor. When detected, the SSPS control module reduces current to the EVO actuator, allowing greater power steering assist.

SSPS (Speed Sensitive Power Steering) is to control power steering effort properly according to varying conditions for both convenience and safety.

At low speed or standstill, power steering effort becomes light to provide easy steering. On the contrary, at high speed, power steering effort becomes heavy to provide stable steering.

SSPS offered to LACETTI is EVO (Electric Variable Orifice) type, which controls steering effort by modulating pressurized fluid supply to the steering unit from the power steering pump.

Fig 1: Speed Sensitive Power Steering System Flow Diagram
G04103943Courtesy of SUZUKI OF AMERICA CORP.

Steering wheel rotation sensor is installed at the bottom of the steering column.

This sensor detects steering wheel rotation which is used to calculate the angle speed of the steering wheel by SSPS module.

If the angle speed was big enough for intervention into normal steering force control during high vehicle speed, which means a driver made an evasive steering maneuver to avoid an accident, SSPS control module would supply enough steering support.

The sensor consists of a variable resistor.

Fig 2: Identifying Power Assisted Steering System
G04103944Courtesy of SUZUKI OF AMERICA CORP.

Checking procedure is as follows;

  1. Remove SSPS connector.
  2. Turn the ignition ON.
  3. Try to measure 5V across A and C terminals. If you fail, it might be A, C wiring open or short, or SSPS module malfunction.
  4. Check if B+ and B- are supplied to terminal "8" and "10" respectively.
    VOLTAGE AND RESISTANCE SPECIFICATIONS

    TERMINAL VOLTAGE RESISTANCE CONDITION
    A<-->C 4.8 - 5.2 V 9.0 - 10kΩ Idle
    B<-->C 0.5 - 4.5 V 0.7 - 12kΩ Steering
    Fig 3: Measuring Voltage Between Steering Wheel Rotation Sensor And Ground
    G04103945Courtesy of SUZUKI OF AMERICA CORP.

The flow control actuator is installed on the outlet of the conventional vein type of the power steering pump. The actuator modulates fluid flow to the steering gear from the pump by current control from the SSPS control module.

At low speed, small current is supplied to the actuator.

Then the actuator modulates flow high and steering effort becomes light.

At high speed, On the contrary, big current to the actuator. Low fluid flow and heavy steering effort.

If there happens an actuator malfunction, by default its pintle valve opens the orifice 100% to supply light steering effort.

The maximum pumping pressure with SSPS option is 74.4~81.6 kg/cm.2

If you try to measure voltage at the actuator terminal with the connector removed, you can measure 6.5V.

Fig 4: Identifying Flow Control Actuator
G04103946Courtesy of SUZUKI OF AMERICA CORP.
Fig 5: View Of Flow Control Actuator On Outlet Of Conventional Vein Type Power Steering Pump
G04103947Courtesy of SUZUKI OF AMERICA CORP.
SPEED AND CURRENT REFERENCE

VEHICLE SPEED (KPH) CURRENT (mA
0 0
60 50
100 400
140 650
160 700

[Vehicle Speed - Actuator Current Relation]

SOLENOID RESISTANCE SPECIFICATION

SOLENOID RESISTANCE 13 Ω

The control module is installed on the right side of the audio and can be accessible after the glove box is removed.

It receives signals from the vehicle speed sensor and the steering wheel rotation sensor and processes them to decide proper fluid flow through the actuator.

It also has a self-diagnosis. If it detects any malfunction, it starts default mode, which is basically actuator full open for light steering effort.

Fig 6: Locating Control Module
G04103948Courtesy of SUZUKI OF AMERICA CORP.
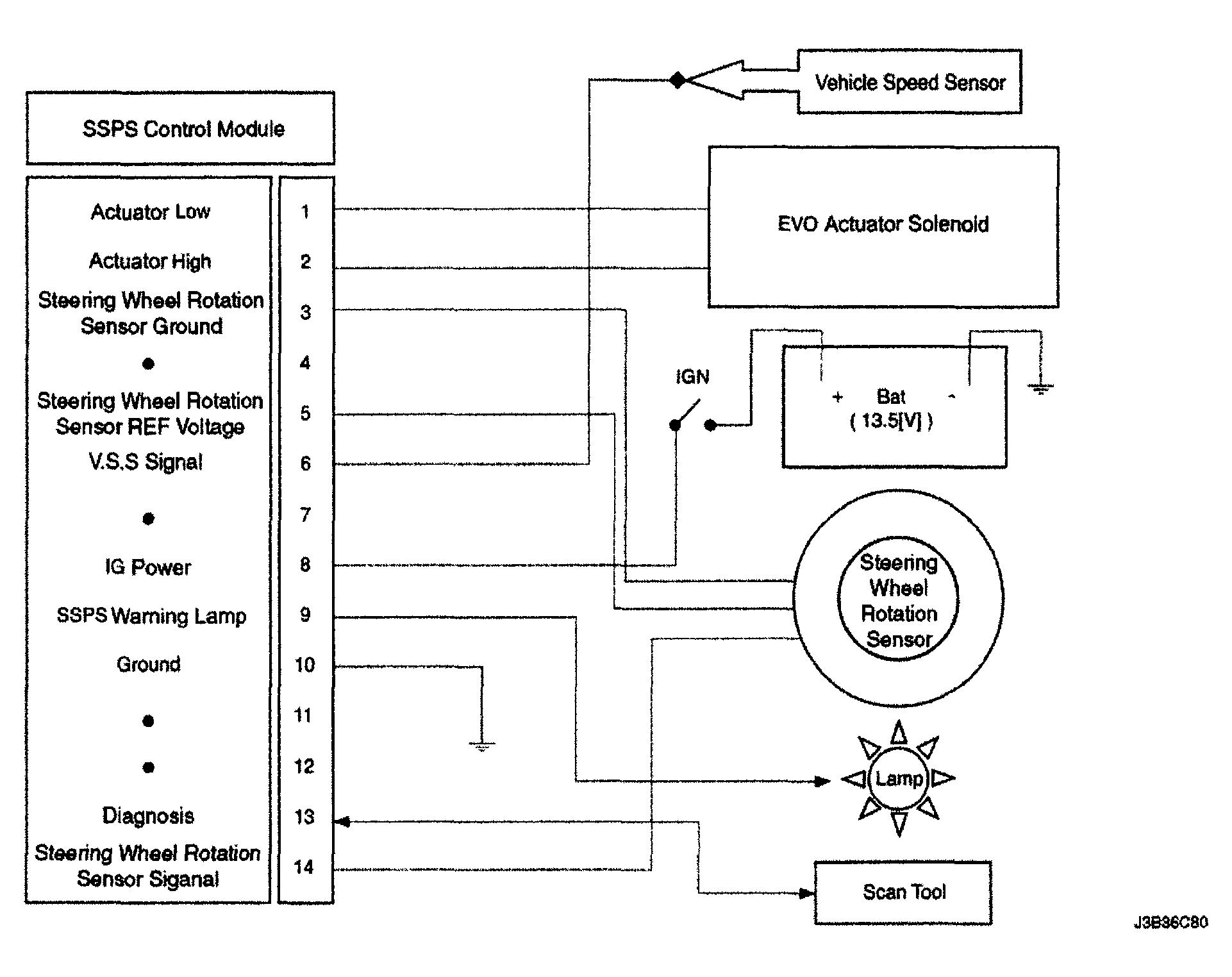
TERMINAL FUNCTION REFERENCE

TERMINAL COLOR FUNCTION
1 SB Actuator Low
2 V Actuator High
3 BW Steering Wheel Rotation Sensor Ground
4 - Not used
5 Gr Steering Wheel Rotation Sensor 5V ref.
6 GW VSS
7 - Not Used
8 P IGN ON
9 Br Warning Lamp
10 BW Ground
11 - Not Used
12 - Not Used
13 L Diagnosis
14 SB Steering Wheel Rotation Sensor Signal