LEMON Manuals: Even more car manuals for everyone: 1960-2025
Home >> Suzuki >> 2007 >> Swift + >> Repair and Diagnosis (Single Page) >> Quick Lookups >> Wiring Diagrams >> OEM Connector End Views >> Lighting Systems Connector End Views (Notchback) >> Tail Lamp Assembly Connector End View
April 5, 2026: LEMON Manuals is launched! Read the announcement.

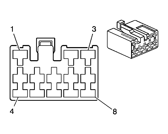
Tail Lamp Assembly Connector End View

Tail Lamp Assembly Connector End View/Part Information/Terminal Identification - Left

GM1761384Courtesy of GENERAL MOTORS CORP.
Connector Part Information
  • AMP 936233-1
  • 8-Way F 090 Series (BK)
Pin Wire Color Circuit No. Function
1 OG - Rear Fog Lamp Supply Voltage (Euro-LHD)
2 BK - Ground
BK -
3 BK - Ground
4 L-GN - Backup Lamp Feed
5 L-BU - Turn Signal Lamp Feed - Left
6 L-BU - Stop Lamp Supply Voltage
7 PU - Park Lamp Feed
PU -
8 PU - Park Lamp Feed
Tail Lamp Assembly Connector End View/Part Information/Terminal Identification - Right

GM1761384Courtesy of GENERAL MOTORS CORP.
Connector Part Information
  • AMP 936233-1
  • 8-Way F 090 Series (BK)
Pin Wire Color Circuit No. Function
1 OG - Rear Fog Lamp Supply Voltage (Euro-RHD)
2 BK - Ground
BK -
3 BK - Ground
4 L-GN - Backup Lamp Feed
5 D-BU - Turn Signal Lamp Feed - Right
6 L-BU - Stop Lamp Supply Voltage
7 PU - Park Lamp Feed
PU -
8 BN/WH - Park Lamp Feed