LEMON Manuals: Even more car manuals for everyone: 1960-2025
Home >> Suzuki >> 2009 >> Grand Vitara 2WD L4-2.4L >> Repair and Diagnosis >> Powertrain Management >> Computers and Control Systems >> Fuel Level Sensor >> Service and Repair >> Sub Fuel Level Sensor Removal and Installation
April 5, 2026: LEMON Manuals is launched! Read the announcement.

Sub Fuel Level Sensor Removal and Installation

Sub Fuel Level Sensor Removal and Installation

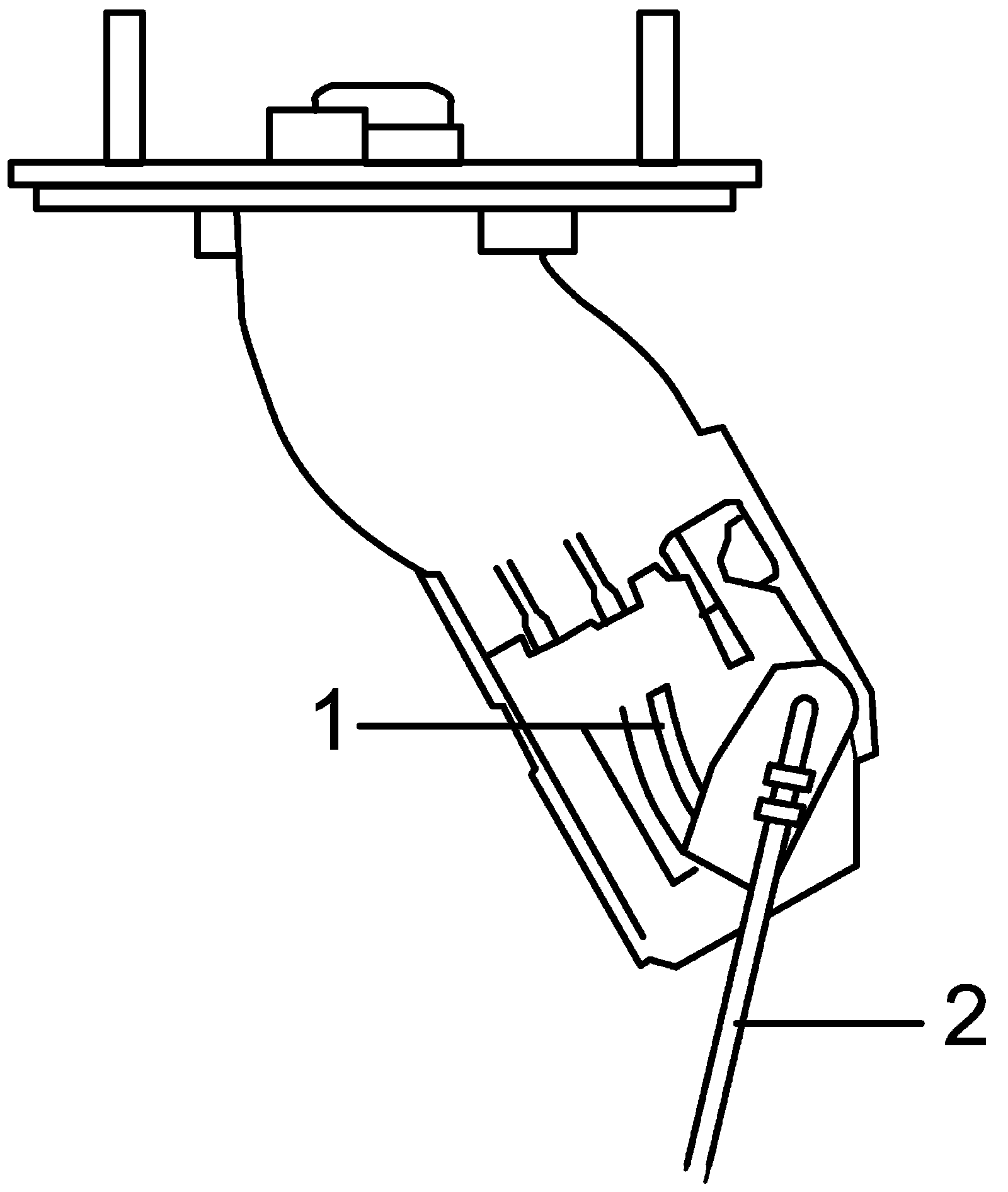
CAUTION: Do not touch resister plate (1) and deform arm (2). It may cause sub fuel level sensor to fail.






Removal

1. Remove fuel tank from vehicle.
2. Disconnect sub fuel level sensor connector (1).
3. Remove sub fuel level sensor (2) from fuel tank.






Installation

Reverse removal procedure for installation noting the following.
- Check that mating surface of sub fuel level sensor is clean.
- Replace gasket with new one using care not to damage it.
- Tighten sub fuel level sensor screws to specified torque.

Tightening torque
Sub fuel level sensor screw: 1.6 N.m (0.16 kg-m, 1.5 lbf-ft)