LEMON Manuals: Even more car manuals for everyone: 1960-2025
Home >> Suzuki >> 2009 >> Grand Vitara 2WD L4-2.4L >> Repair and Diagnosis >> Starting and Charging >> Starting System >> Keyless Starting System >> Description and Operation >> Description of Keyless Start System Door Lock Function
April 5, 2026: LEMON Manuals is launched! Read the announcement.

Description of Keyless Start System Door Lock Function

Description of Keyless Start System Door Lock Function

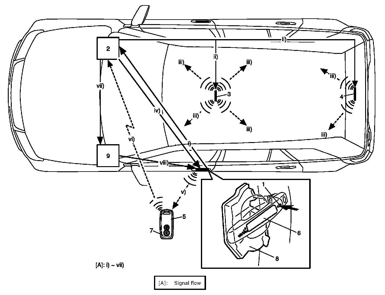
When the request switch (1) incorporated in the outside handle of the driver side door, front passenger side door or rear end door is pushed, the keyless start control module (2) activates the center antenna (3) and luggage room antenna (4) to send out the radio wave in the vehicle compartment to check if the remote controller (5) is in the vehicle compartment or not. When the keyless start control module receives no signal from the remote controller (i.e., the remote controller does not exist in the vehicle compartment), it activates the antenna (6) of the door of which the request switch has been pushed to send the request signal out of the compartment. If the remote controller exists within the door lock operation area, it receives the request signal sent from the above said antenna, sends the ID code of the remote controller and the request signal to the keyless start control module and at the same time, it makes the operation indicator light (7) of the remote controller light up. Lighting of the operation indicator light indicates that the remote controller sent the ID code and the request signal.

The keyless start control module compares the ID code sent from the remote controller with the ID code registered in the keyless start control module. If both ID codes match, the keyless start control module outputs the lock or unlock request signal (depending on the door lock switch (8) state then) to BCM (9). When BCM receives such signal through CAN communication from the keyless start control module, it activates the door lock actuator to lock or unlock doors. When the keyless start control module receives a signal from the remote controller (i.e., the remote controller exists in the vehicle compartment), the function of the keyless start system to prevent the remote controller from being closed in the vehicle works and the keyless start control module sends a request signal to unlock doors to BCM. In this way, doors are kept unlocked. Also, when the driver or passenger has left the vehicle with the remote controller left behind in the vehicle compartment and locked doors by using the door lock knob or manual door lock switch, the function to prevent the remote controller from being closed in the vehicle works to unlock doors.






Furthermore, when ID codes of the remote controller and keyless start control module do not match or the remote controller exists outside of the operation area, doors are not locked or unlocked even if the request switch of the outside handle is operated.