LEMON Manuals: Even more car manuals for everyone: 1960-2025
Home >> Suzuki >> 2009 >> Grand Vitara 2WD V6-3.2L >> Repair and Diagnosis >> Powertrain Management >> Computers and Control Systems >> Relays and Modules - Computers and Control Systems >> Main Relay (Computer/Fuel System) >> Testing and Inspection
April 5, 2026: LEMON Manuals is launched! Read the announcement.

Main Relay (Computer/Fuel System): Testing and Inspection

Engine and Emission Control System Relay Inspection

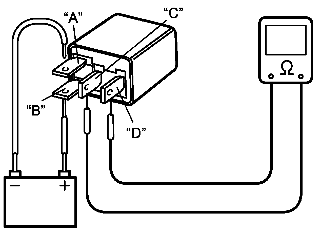
Main Relay (Single Type Relay)
1. Disconnect negative cable from battery.
2. Remove main relay (1) from fuse box (2).







3. Check that there is no continuity between terminal "C" and "D". If there is continuity, replace relay.
4. Connect battery positive (+) terminal to terminal "B" of relay. Connect battery negative (-) terminal to terminal "A" of relay. Check for continuity between terminal "C" and "D". If there is no continuity when relay is connected to the battery, replace defective relay.







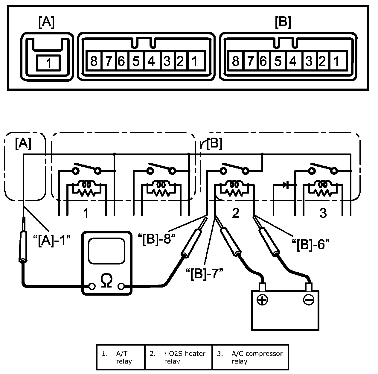
HO2S Heater Relay (Integration Type Relay)
1. Disconnect negative cable from battery.
2. Remove integration relay No.2 (1) from fuse box (2).







3. Check that there is no continuity between terminals "[A]-1" and "[B]-8" of relay. If there is continuity, replace relay.
4. Connect battery positive (+) terminal to "[B]-7" terminal of relay. Connect battery negative (-) terminal to "[B]-6" terminal of relay. Check for continuity between terminal "[A]-1" and "[B]-8". If there is no continuity when relay is connected to the battery, replace integration relay No.2.







Radiator Cooling Fan Relay No.1/No.2/No.3
Refer to Radiator Cooling Fan Relay Inspection:N32A. Testing and Inspection

Fuel Pump Relay
Refer to Fuel Pump Relay Inspection:N32A. Testing and Inspection

Starting Motor Relay
Refer to Starting Motor Control Relay Inspection. Testing and Inspection