LEMON Manuals: Even more car manuals for everyone: 1960-2025
Home >> Suzuki >> 2009 >> Grand Vitara 2WD V6-3.2L >> Repair and Diagnosis >> Relays and Modules >> Relays and Modules - Powertrain Management >> Relays and Modules - Computers and Control Systems >> Engine Control Module >> Testing and Inspection >> Pinout Values and Diagnostic Parameters >> Reference Waveform >> Part 1
April 5, 2026: LEMON Manuals is launched! Read the announcement.

Part 1

Inspection of ECM and Its Circuits

CAUTION: ECM and its circuits can be checked by measuring voltage and pulse signal with special tool connected. It is strictly prohibited to connect voltmeter or ohmmeter to ECM with ECM connectors disconnected from it.

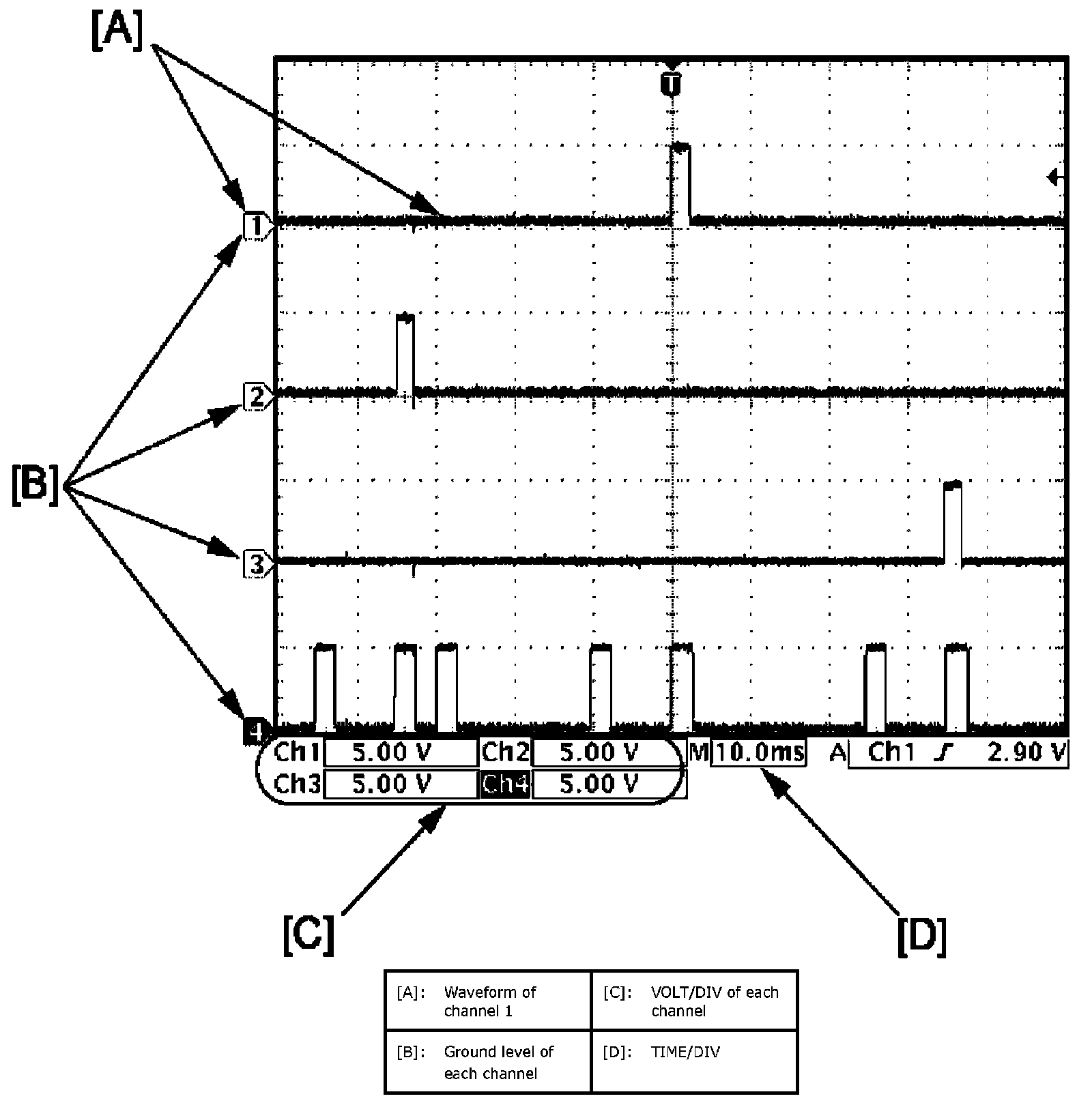
Reference waveform

NOTE:
- Waveform analysis is as follows.






- Waveform might change for measurement condition and vehicle'spec.

Throttle actuator control signal









Measurement condition

- Ignition switch: ON
- Accelerator pedal: Released position - Fully depressed position

Released position






Fully depressed position











Measurement condition

- Engine: Idle speed after warming up






HO2S-1 signal and HO2S-2 signal









Measurement condition

- Engine: Idle speed after warming up
- Engine: Racing after warming up

Idle speed after warming up






Racing after warming up






OCV control signal















Measurement condition

- Engine: Idle speed after warming up
- Engine: Racing after warming up

Idle speed after warming up






Racing after warming up











Measurement condition

- Engine: Idle speed after warming up






Ignition coil No.1 / 3 / 5 control signal and CKP sensor signal















Measurement condition

- Engine: Idle speed after warming up






Ignition coil No.2 / 4 / 6 control signal and CKP sensor signal















Measurement condition

- Engine: Idle speed after warming up











Measurement condition

- Engine: Idle speed after warming up






CMP sensor (intake side) signal and CMP sensor (exhaust side) signal












Measurement condition

- Engine: Idle speed after warming up











Measurement condition

- Engine: Idle speed after warming up












Measurement condition

- Engine: Idle speed after warming up






Fuel injector No.1 / 3 / 5 control signal and CKP sensor signal















Measurement condition

- Engine: Idle speed after warming up






Fuel injector No.2 / 4 / 6 control signal and CKP sensor signal















Measurement condition

- Engine: Idle speed after warming up