LEMON Manuals: Even more car manuals for everyone: 1960-2025
Home >> Suzuki >> 2009 >> SX4 2WD L4-2.0L >> Repair and Diagnosis >> Diagrams >> Connector Views >> Fuse Block
April 5, 2026: LEMON Manuals is launched! Read the announcement.

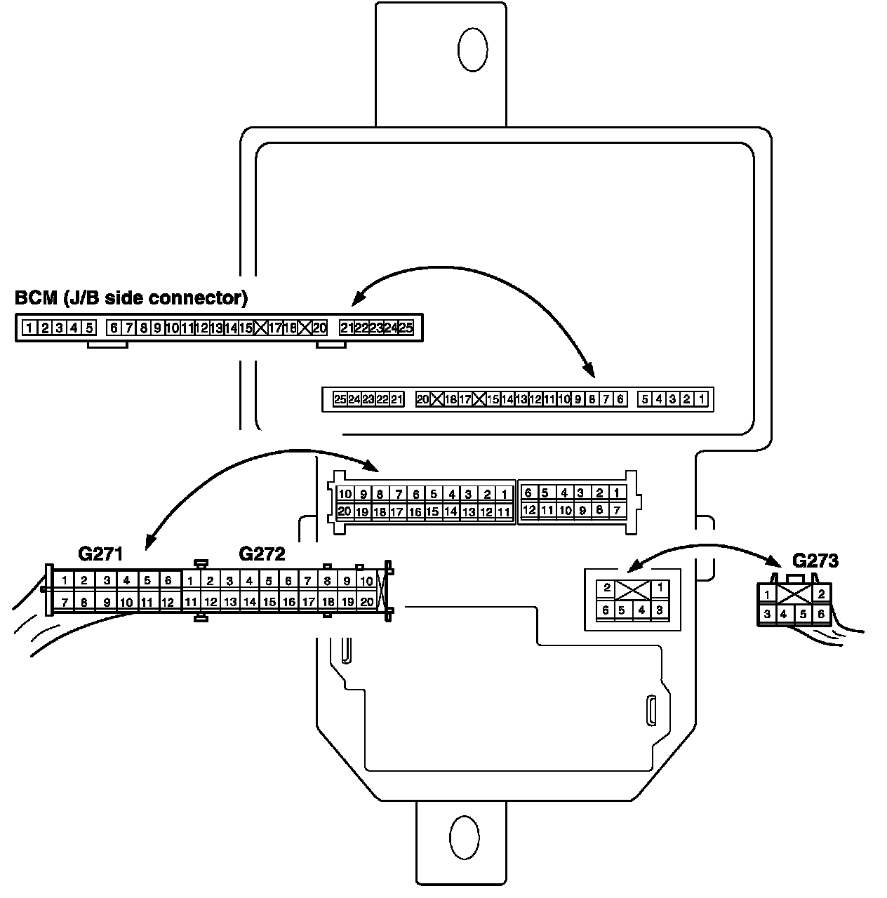
Fuse Block

Junction Block (J/B) Connector / Fuse Layout BCM Side:



Junction Block (J/B) Connector / Fuse Layout Relay Side:



Junction Block (J/B) Connector / Fuse Layout BCM Side:



Junction Block (J/B) Connector / Fuse Layout Relay Side: