LEMON Manuals: Even more car manuals for everyone: 1960-2025
Home >> Suzuki >> 2009 >> SX4 2WD L4-2.0L >> Repair and Diagnosis >> Specifications >> Mechanical Specifications >> Engine >> Cylinder Block Assembly >> System Specifications
April 5, 2026: LEMON Manuals is launched! Read the announcement.

System Specifications

Piston outer diameter and cylinder bore diameter specification:




Piston Diameter:





Piston clearance 0.02 - 0.04 mm (0.0008 - 0.0015 in.)

Ring Groove Clearence:




Piston Ring End Gap:





Cylinder bore diameter
Standard 84.000 - 84.020 mm (3.3070 - 3.3078 in.)
Limit 84.050 mm (3.3090 in.)
Taper and out-of-round
Limit 0.10 mm (0.004 in.)

Cylinder Block Flatness Limit 0.06 mm (0.0024 in.)0.06 mm (0.0024 in.)

Crankshaft runout
Limit on runout 0.06 mm (0.0023 in.)

Crankshaft Thrust Play
Standard 0.10 - 0.35 mm (0.0039 - 0.0137 in.)
Limit 0.42 mm (0.0149 in.)

Limit on out-of-round and taper 0.01 mm (0.0004 in.)
Out-of-round "A"-"B"
Taper "a"-"b"





Main bearing clearance
Standard 0.020 - 0.038 mm (0.00079 - 0.00149 in.)
Limit 0.063 mm (0.0024 in.)

Journal diameter

Journal diameter:





Journal bore diameter





Standard size main bearing thickness





Main bearing cross-reference table (new standard bearing)





Undersize main bearing thickness





Undersize bearing specification





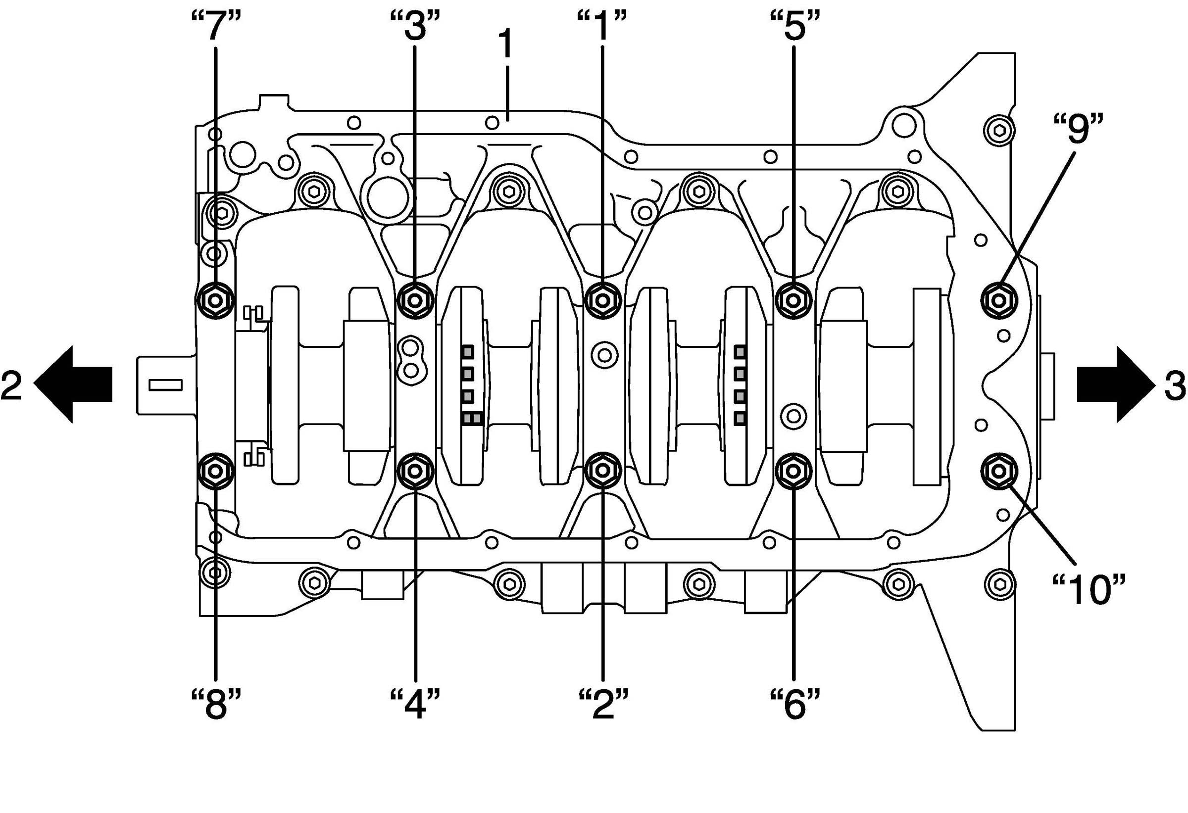
Crankcase bolts
a) 1 - 10 40 Nm (4.0 kgf-m, 29.0 ft. lbs.)
b) Loosen bolts 1 - 10 0 Nm (0 kgf-m, 0 ft. lbs.)





c) 1 - 10 40 N�m (4.0 kgf-m, 29.0 ft. lbs.)
d) Retighten bolts 1 - 10 58 N�m (5.8 kgf-m, 42.0
ft. lbs.)
e) 11 - 22 26 N�m (2.6 kgf-m, 19.0 ft. lbs.)

Connecting Rod Side Clearence:




Bearing Clearence:





Crankshaft pulley bolt 150 Nm (15.0 kgf-m 108.5 ft. lbs.)