LEMON Manuals: Even more car manuals for everyone: 1960-2025
Home >> Suzuki >> 2009 >> SX4 2WD L4-2.0L >> Repair and Diagnosis >> Specifications >> Mechanical Specifications >> Engine >> System Specifications
April 5, 2026: LEMON Manuals is launched! Read the announcement.

System Specifications

Torque Specifications

Torque Specification Sheet





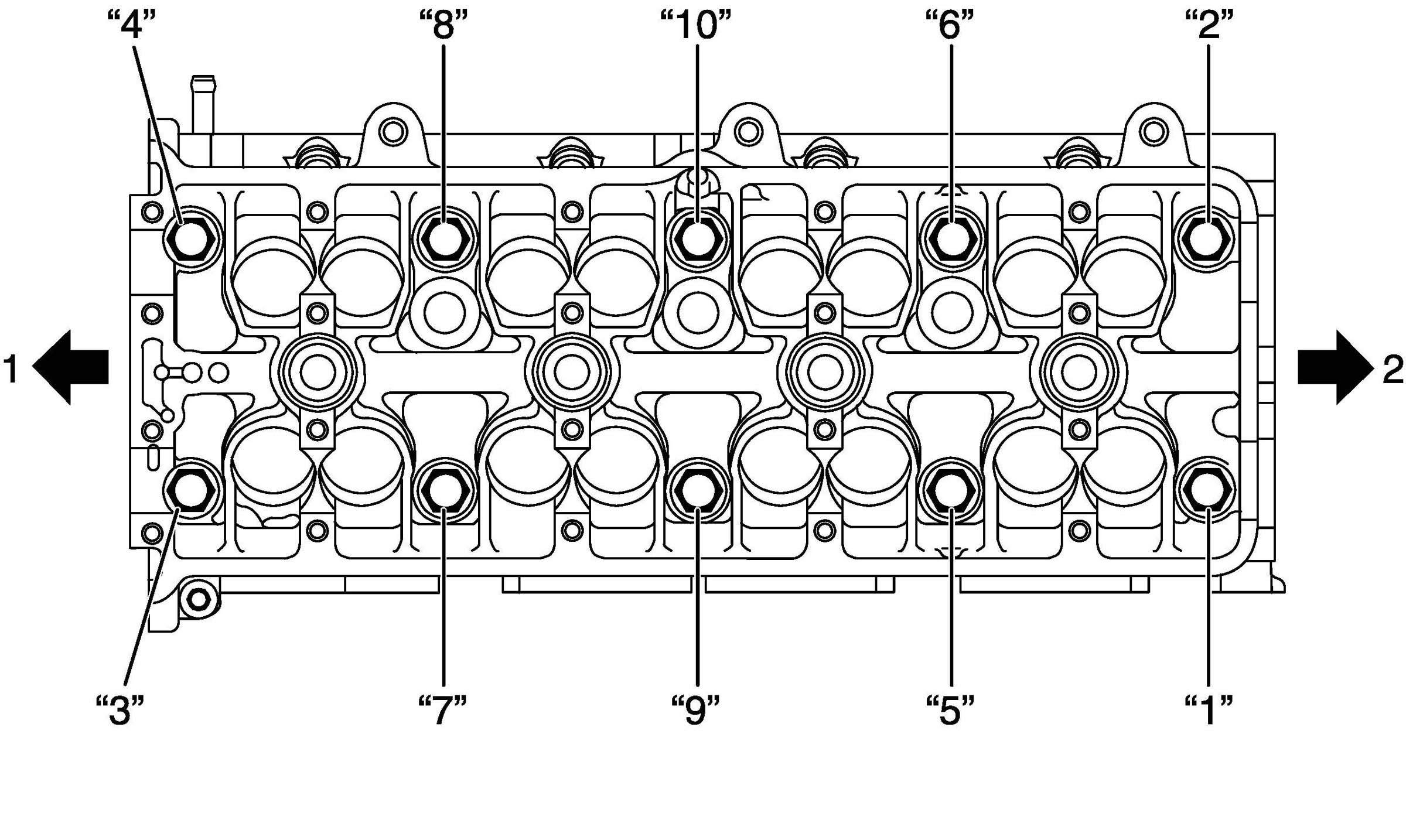
Cylinder Head Torque and Sequence

1. Install cylinder head to cylinder block. Apply engine oil to cylinder head bolts and tighten them gradually as follows.
a. Tighten cylinder head bolts (M10) to 52 Nm (5.2 kgf-m, 38.0 ft. lbs.) according to numerical order in figure.
b. In the same manner as in step a), retighten cylinder head bolts (M10) to 82 Nm (8.2 kgf-m, 59.5 ft. lbs.).








c. Loosen cylinder head bolts (M10) until tightening torque is reduced to 0 according to numerical order in figure.








d. Tighten cylinder head bolts (M10) to 52 Nm (5.2 kgf-m, 38.0 ft. lbs.) according to numerical order in figure.
e. In the same manner as in step b), retighten cylinder head bolts (M10) to 103 Nm (10.3 kgf-m, 74.5 ft. lbs.).
f) Tighten cylinder head bolt (M6) to specified torque.

Tightening torque
Cylinder head bolt (M10) a: Tighten 52 Nm (5.2 kgf-m, 38.0 ft. lbs.), 82 Nm (8-2 kgf-m, 59.5 ft. lbs.), 0 Nm (0 kgf-m, 0 ft. lbs.), 52 Nm (5.2 kgf-m, 38.0 ft. lbs.) and 103 Nm (10.3 kgf-m, 74.5 ft. lbs.) by the specified procedure
Cylinder head bolt (M6) b: 11 Nm (1.1 kgf-m 8.0 ft. lbs.)

Cylinder Head Bolt Reusablity

No information provided by manufacturer

Intake Manifold Torque and Sequence

No sequence or torque given by manufacturer.

Camshaft Bearing Cap Torque and Sequence

Camshaft Housing Bolt (a) 11 Nm (1.1 kgf-m, 8.0 ft. lbs.)





Main Bearing Cap Torque and Sequence

Crankcase bolts
a) 1 - 10 40 Nm (4.0 kgf-m, 29.0 ft. lbs.)
b) Loosen bolts 1 - 10 0 Nm (0 kgf-m, 0 ft. lbs.)





c) 1 - 10 40 Nm (4.0 kgf-m, 29.0 ft. lbs.)
d) Retighten bolts 1 - 10 58 Nm (5.8 kgf-m, 42.0
ft. lbs.)
e) 11 - 22 26 Nm (2.6 kgf-m, 19.0 ft. lbs.)

Connecting Rod Bearing Torque

Connecting Rod Bolt 15 Nm (1.5 kgf-m, 11.0 ft. lbs.), 45° and 45° again

Crankshaft Pulley Torque

Crankshaft Pulley Bolt 150 Nm (108.5 ft. lbs./15 kgf-m)

Flywheel/Flex Plate Torque and Sequence

Flywheel Or Drive Plate Bolt 70 Nm (51.0 ft. lbs.)

Oil Pump Torque and Sequence

Oil Pump Mounting Bolt (M8 bolt) 25 Nm (2.5 kgf-m, 18.0 ft. lbs.)
Baffle Plate Bolt (M6 bolt) 11 Nm (1.1 kgf-m, 8.0 ft. lbs.)

Exhaust Manifold Torque and Sequence

Exhaust Manifold Bolt a 50 Nm (5.0 kgf-m, 36.5 ft. lbs.)
Exhaust Manifold Nut b 50 Nm (5.0 kgf-m, 36.5 ft. lbs.)





Water Pump Torque and Sequence

Water Pump Bolt 25 Nm (2.5 kgf-m, 18.0 ft. lbs.)

Recommended Service Material





NOTE: Required service material is also described in the following.
Timing Chain Cover Components
2nd Timing Chain and Chain Tensioner Components
1st Timing Chain and Chain Tensioner Components
Camshaft, Tappet and Shim Components
Valves and Cylinder Head Components
Pistons C finders Components
Piston Rings
Connecting Rods and
Main Bearings, Crankshaft and Cylinder Block Components