LEMON Manuals: Even more car manuals for everyone: 1960-2025
Home >> Suzuki >> 2010 >> Equator 2WD V6-4.0L >> Repair and Diagnosis >> Powertrain Management >> Computers and Control Systems >> Relays and Modules - Computers and Control Systems >> Body Control Module >> Diagrams >> Diagram Information and Instructions >> How to Read Wiring Diagrams
April 5, 2026: LEMON Manuals is launched! Read the announcement.

How to Read Wiring Diagrams

How to Read Wiring Diagrams

Connector symbols
Most of connector symbols in wiring diagrams are shown from the terminal side.
- Connector symbols shown from the terminal side are enclosed by a single line and followed by the direction mark.






- Connector symbols shown from the harness side are enclosed by a double line and followed by the direction mark.
- Certain systems and components, especially those related to OBD, may use a new style slide locking type harness connector. For description and how to disconnect, refer to [Harness Layout].
- Male and female terminals






Connector guides for male terminals are shown in black and female terminals in white in wiring diagrams.

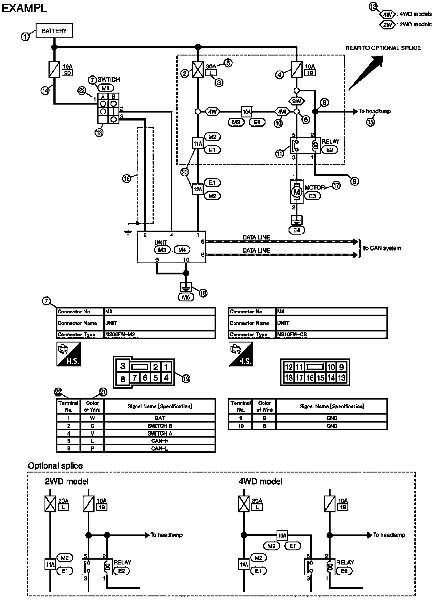
Sample/wiring diagram -example-
- For detail, refer to following [How to Read Wiring Diagrams].






Description






Switch Positions
Switches are shown in wiring diagrams as if the vehicle is in the "normal" condition.
A vehicle is in the "normal" condition when:
- ignition switch is "OFF",






- doors, hood and trunk lid/back door are closed,
- pedals are not depressed, and
- parking brake is released.

Multiple Switch
The continuity of multiple switch is described in two ways as shown below.
- The switch chart is used in schematic diagrams.
- The switch diagram is used in wiring diagrams.