LEMON Manuals: Even more car manuals for everyone: 1960-2025
Home >> Suzuki >> 2010 >> Kizashi AWD L4-2.4L >> Repair and Diagnosis >> Powertrain Management >> Computers and Control Systems >> Air Flow Meter/Sensor >> Service and Repair
April 5, 2026: LEMON Manuals is launched! Read the announcement.

Air Flow Meter/Sensor: Service and Repair

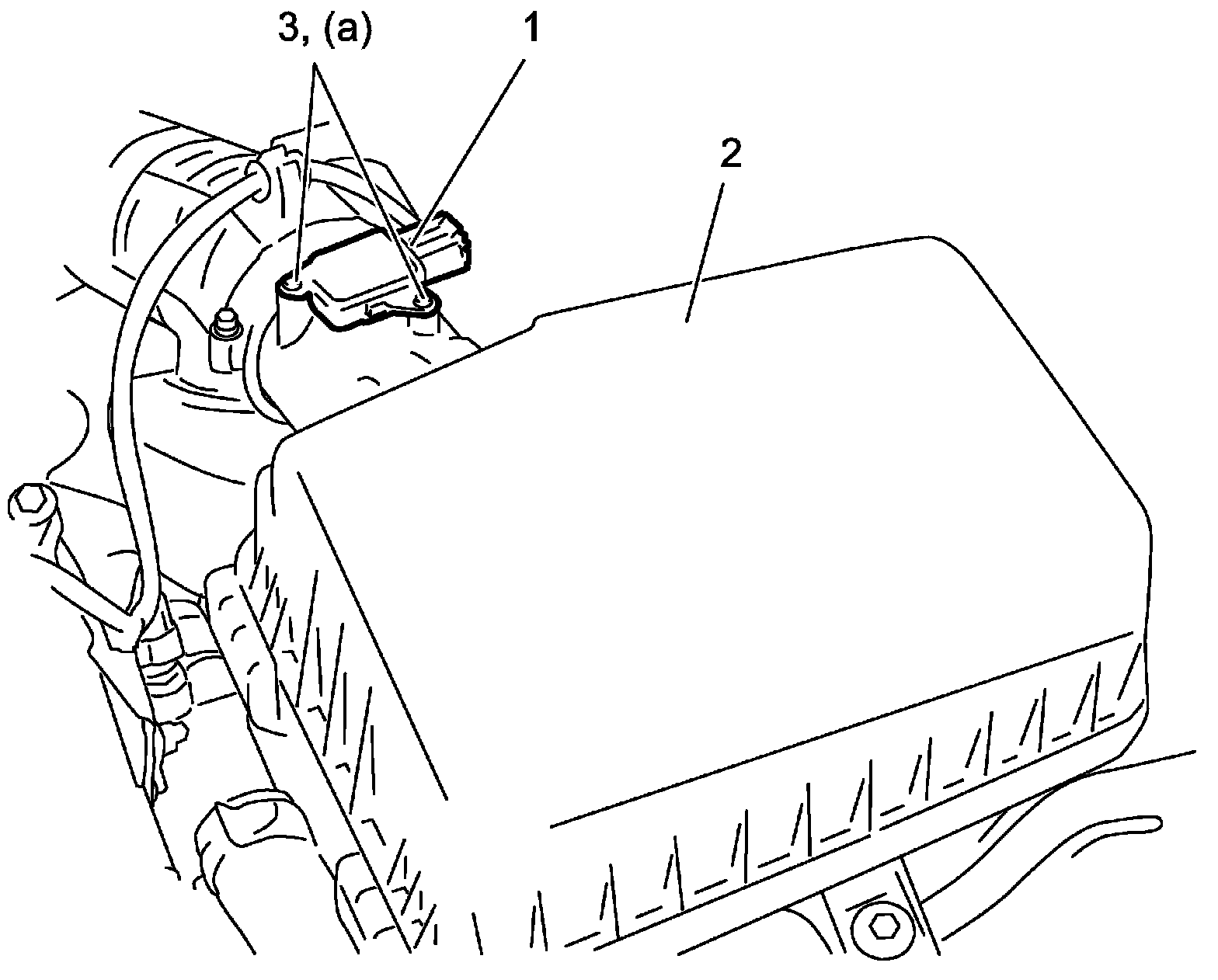
MAF and IAT Sensor Removal And Installation

CAUTION:
When servicing MAF and IAT sensor, be sure to observe the following items.
- Do not disassemble MAF and IAT sensor.
- Do not expose MAF and IAT sensor to any shock. If it has been dropped, it should be replaced.
- Do not clean MAF and IAT sensor.
- Do not blow compressed air using air gun or the like.
- Do not put finger or any other object into MAF and IAT sensor.

Removal

1. Disconnect negative (-) cable at battery.
2. Disconnect MAF and IAT sensor connector.
3. Remove MAF and IAT sensor (1) from air cleaner case (2).

Installation
Reverse removal procedure, noting the following points:
- Tighten MAF and IAT sensor screws (3) to specified torque.

Tightening torque
MAF and IAT sensor screw (a): 0.9 N.m (0.09 kg-m, 1.0 lbf-ft)