LEMON Manuals: Even more car manuals for everyone: 1960-2025
Home >> Suzuki >> 2010 >> Kizashi AWD L4-2.4L >> Repair and Diagnosis >> Powertrain Management >> Computers and Control Systems >> Fuel Level Sensor >> Service and Repair >> Sub Fuel Level Sensor Removal and Installation
April 5, 2026: LEMON Manuals is launched! Read the announcement.

Sub Fuel Level Sensor Removal and Installation

Sub Fuel Level Sensor Removal and Installation (4WD Model)

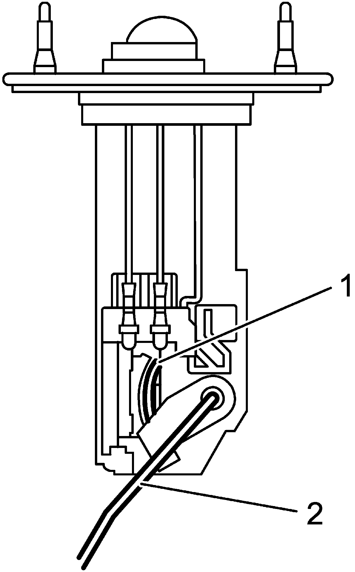
CAUTION: Do not touch resister plate (1) and cause deformation of arm (2). It may cause sub fuel level sensor to fail.






Removal
1. Remove fuel tank from vehicle.
2. Disconnect sub fuel level sensor connector (1).
3. Remove sub fuel level sensor (2) from fuel tank.






Installation
Reverse removal procedure, noting the following points.
- Check that mating surface of sub fuel level sensor is clean.
- Replace gasket with new one.
- Tighten sub fuel level sensor screws to specified torque.

Tightening torque
Sub fuel level sensor screw: 1.6 N.m (0.16 kg-m, 1.5 lbf-ft) ((Reference))

- After tightening screws, check for fuel leaks.