LEMON Manuals: Even more car manuals for everyone: 1960-2025
Home >> Suzuki >> 2010 >> Kizashi AWD L4-2.4L >> Repair and Diagnosis >> Powertrain Management >> Computers and Control Systems >> Fuel Level Sensor >> Testing and Inspection
April 5, 2026: LEMON Manuals is launched! Read the announcement.

Fuel Level Sensor: Testing and Inspection

Fuel Level Sensor Inspection

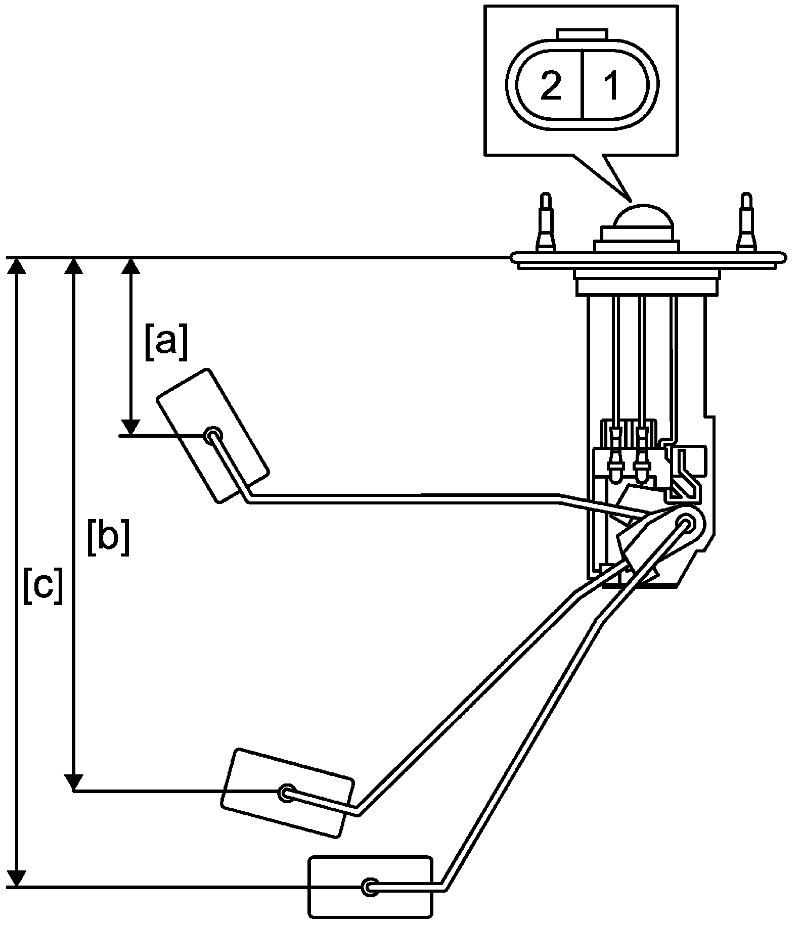
Main Fuel Level Sensor
Check resistance between terminals (1) and (2) at each float position [a], [b] and [c].
If measured resistance is out of specification, replace fuel level sensor.










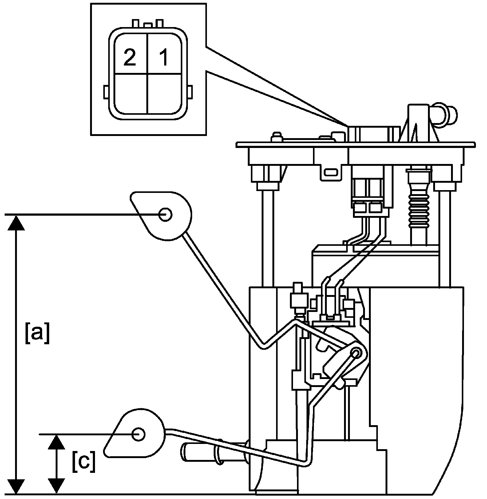
Sub Fuel Level Sensor (4WD model)
Check resistance between terminals (1) and (2) at each float position [a], [b] and [c].
If measured resistance is out of specification, replace sub fuel level sensor.