LEMON Manuals: Even more car manuals for everyone: 1960-2025
Home >> Suzuki >> 2010 >> SX4 2WD L4-2.0L >> Repair and Diagnosis >> Specifications >> Mechanical Specifications >> Alignment
April 5, 2026: LEMON Manuals is launched! Read the announcement.

Alignment

Wheel Alignment Specifications

Front Camber
Other than 17 inch wheel model -10' ± 1°
17 inch wheel model -17' ± 1°
Front Caster
Other than 17 inch wheel model 3° 40' ± 2°
17 inch wheel model 3° 46' ± 2°
Kingpin Inclination Angle
Other than 17 inch wheel model 12° 17' ± 2°
17 inch wheel model 12° 31' ± 2°

NOTE: Camber, caster and kingpin inclination angle are not adjustable. If they are out of specification, check vehicle body or replace related part.

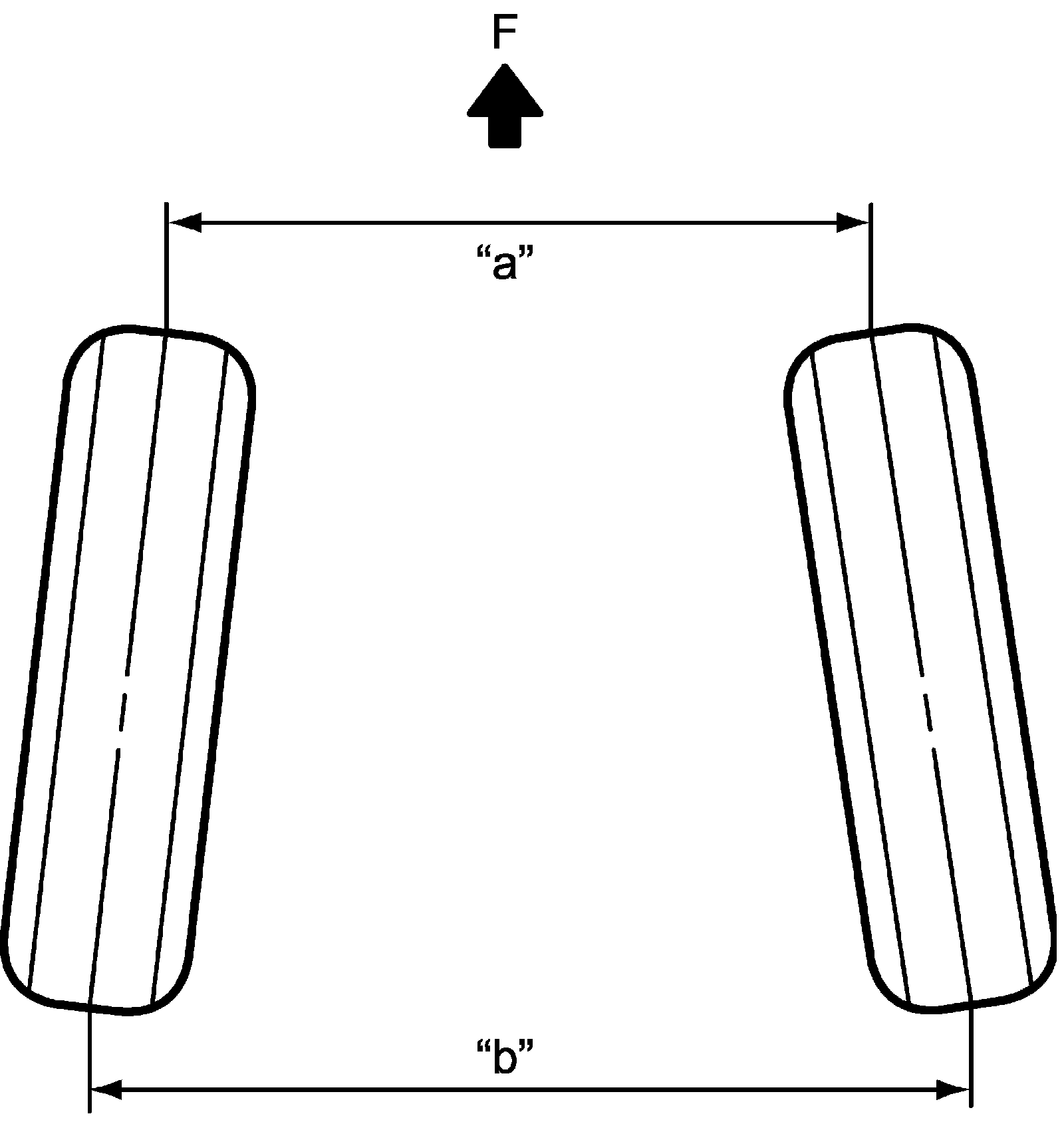
Front Toe (Total) ("b" - "a") IN 1.0 ± 1.0 mm (0.0393 ± 0.0393 in.)








Front Toe Angle (Each Wheel)
Other than 17 inch wheel model IN 1' ± 2'
17 inch wheel model IN 3' ± 2'

Side Slip (On One Person) IN 3.0 to 0 mm/m (IN 0.118 to 0 in./3.3 ft)

Steering Angle
Inside:
Other than 17 inch wheel model 36° ± 2°
17 inch wheel model 35° 42' ± 2°
Outside:
Other than 17 inch wheel model 32° 6' (Reference)
17 inch wheel model 31° 54' (Reference)

Rear Toe (Total) IN 5.0 ± 5.0 mm (IN 0.1968 ± 0.1968 in.)

Rear Toe Angle (Each wheel) IN 17' ± 17'

Rear Camber -1° ± 1°