LEMON Manuals: Even more car manuals for everyone: 1960-2025
Home >> Suzuki >> 2011 >> Equator 2WD L4-2.5L >> Repair and Diagnosis >> Power and Ground Distribution >> Power Distribution Module >> Description and Operation >> Relay Control System Diagram
April 5, 2026: LEMON Manuals is launched! Read the announcement.

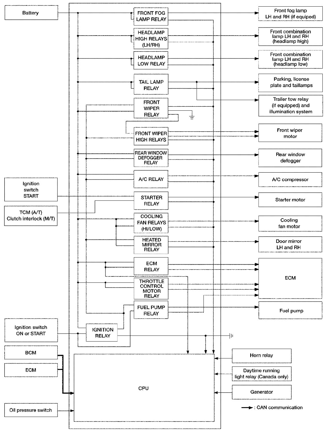
Relay Control System Diagram




Relay Control System: System Diagram