LEMON Manuals: Even more car manuals for everyone: 1960-2025
Home >> Suzuki >> 2012 >> Equator Base >> Repair and Diagnosis >> External Pages >> Different variant/trim >> Section 3 (Transfer (4WD) System) >> Diagnostic Information and Procedures >> DTC P1801 & DTC P1811: Power Supply Circuit for Transfer Control Unit >> Component Inspection
April 5, 2026: LEMON Manuals is launched! Read the announcement.

Component Inspection

WARNING: This page is about a different variant/trim than selected.
  1. Turn ignition switch "OFF". (Stay for at least 5 seconds.)
  2. Remove transfer shut off relay 1 and transfer shut off relay 2. Refer to [P1801, P1811 POWER SUPPLY CIRCUIT FOR TRANSFER CONTROL UNIT ].
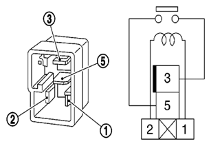
  3. Apply 12V direct current between transfer shut off relay terminals 1 and 2.
    Fig 1: Identifying Transfer Shut Off Relay Terminals
    G06444744Courtesy of SUZUKI OF AMERICA CORP.
  4. Check continuity between relay terminals 3 and 5.
    CONTINUITY CHART

    Condition Continuity
    12V direct current supply between terminals 1 and 2 Yes
    OFF No
  5. If inspection results are not normal, replace the transfer shut off relay 1 or 2.