LEMON Manuals: Even more car manuals for everyone: 1960-2025
Home >> Suzuki >> 2012 >> Kizashi AWD L4-2.4L >> Repair and Diagnosis >> Powertrain Management >> Computers and Control Systems >> Fuel Level Sensor >> Service and Repair >> Sub Fuel Level Sensor Removal and Installation (4WD Model)
April 5, 2026: LEMON Manuals is launched! Read the announcement.

Sub Fuel Level Sensor Removal and Installation (4WD Model)




Sub Fuel Level Sensor Removal and Installation (4WD Model)

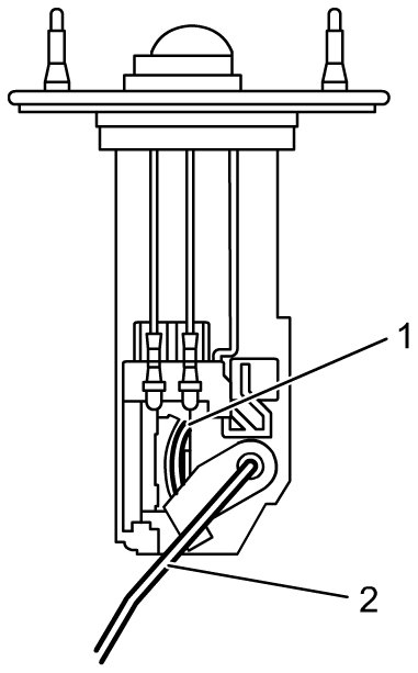
NOTE:

Failure to take proper precautions when removing or installing the fuel level sensor can result in damage.

To prevent failure of the fuel level sensor, be careful not to touch the resister plate (1) or deforming the arm (2) when performing the service operations described below.





Removal

1) Remove fuel tank from vehicle. Fuel Tank Removal and Installation
2) Disconnect sub fuel level sensor connector (1).
3) Remove sub fuel level sensor (2) from fuel tank.






Installation

Fuel Level Sensor Inspection

Reverse removal procedure, noting the following points.

- Check that mating surface of sub fuel level sensor is clean.
- Replace gasket with new one.
- Tighten sub fuel level sensor screws to specified torque.

Tightening torque
Sub fuel level sensor screw 1.6 Nm (0.16 kgf-m, 1.5 lbf-ft) ((Reference))

- After tightening screws, check for fuel leaks.