LEMON Manuals: Even more car manuals for everyone: 1960-2025
Home >> Suzuki >> 2012 >> Kizashi FWD L4-2.4L >> Repair and Diagnosis >> Heating and Air Conditioning >> Control Module HVAC >> Testing and Inspection
April 5, 2026: LEMON Manuals is launched! Read the announcement.

Control Module HVAC: Testing and Inspection




Inspection of HVAC Control Module and Its Circuit

HVAC control unit and its circuits can be checked at HVAC control module wiring connector by measuring voltage.

NOTE:

If you connect a voltmeter or an ohmmeter directly to the HVAC control module by disconnecting the HVAC control module connector, you can damage the HVAC control module.

Never connect a voltmeter or an ohmmeter directly to any terminal on the HVAC control module by disconnecting the HVAC control module connector.

Voltage and Signal Check

1) Remove HVAC control module. HVAC Control Module Removal and Installation
2) Check voltage at each terminal.

NOTE:
- As each terminal voltage is affected by the battery voltage, confirm that it is 11 V or more when ignition mode of keyless push start system is in "ON".
- For "Ignition mode" described in the following table, it means power supply mode in keyless push start system.
For more details of ignition mode, refer to Description of Keyless Engine Start Function Description of Keyless Engine Start Function.
- Normal voltage of circuits with asterisk (*1) cannot be measured correctly with voltmeter because they are pulse signals. Check them with oscilloscope.
- Normal voltage of circuits with asterisk (*2) are reference values corresponding to when control puts the temperature control actuator at max cool position, air flow control actuator at "VENT" position, air intake control actuator at "REC" position and battery voltage is approx. 12 V.























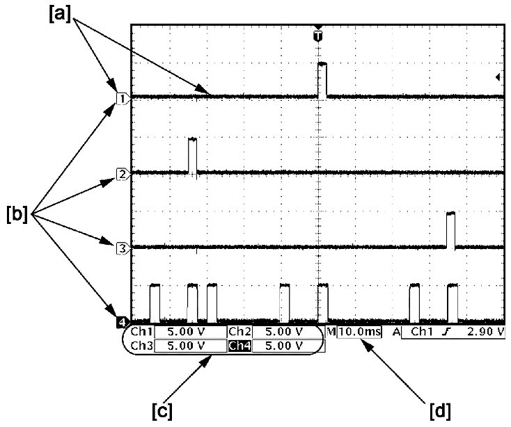
Reference Waveform

Oscilloscope display

Shown below is typical waveform display provided by oscilloscope.

NOTE:

- Display includes the following types of data:











- Waveforms may vary with measurement conditions and vehicle specifications.

LIN communication signal

LIN Communication signal (1):





Measurement condition

- Ignition mode of keyless push start system: "ON"





CAN communication signal

CAN Communication signal (High) (1):





CAN Communication signal (Low) (2):





Measurement condition

- Ignition mode of keyless push start system: "ON"