LEMON Manuals: Even more car manuals for everyone: 1960-2025
Home >> Suzuki >> 2012 >> Kizashi FWD L4-2.4L >> Repair and Diagnosis >> Maintenance >> Alignment >> Service and Repair >> Front Suspension
April 5, 2026: LEMON Manuals is launched! Read the announcement.

Front Suspension




Front Wheel Alignment Inspection and Adjustment

Preparation for Inspection and Adjustment

Steering and vibration complaints are not always the result of improper wheel alignment. An additional item to be checked is the possibility of tire lead due to worn or improperly manufactured tires. "Lead" is the vehicle deviation from a straight path on a level road without hand pressure on the steering wheel. Refer to Tire Inspection Tire Inspection
in order to determine if the vehicle has a tire lead problem. Before inspecting front wheel alignment and making any adjustment affecting wheel alignment, perform the following checks, inspections and repair/replacement to ensure correct measurements and adjustments.

- Check all tires for proper inflation pressure. Adjust pressure for any improperly inflated tire(s).
- Check that all tires are of the same type and brand and also they have approximately the same tread wear. Replace all tires with new ones if necessary.
- Check all wheel bearings for damage. Replace damaged bearing(s) with new one(s). Front Wheel Bearing Check
- Check wheels and tires for deformation. Repair or replace them if necessary. Testing and Inspection
- Check that suspension systems are properly installed and free of damage.
- Check suspension components for bends, dents, wear or other damage.
- Place vehicle on level surface in unloaded state.
- Place steering wheel in straight ahead position.
- Push vehicle body to bounce vehicle up and down several times to stabilize front suspension.
- Check that ground clearance on one side is approximately the same as that on the other side.

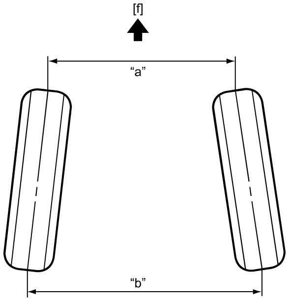
Toe inspection

Measure toe with toe-in gauge (1).

Toe should be within specification.

If toe is out of specification, perform toe adjustment.





Front toe
("b" - "a")
: IN 0 +/- 2.0 mm (0 +/- 0.08 in.)










Toe adjustment

NOTE:

The rack boot may break if it is twisted.

Make sure that the rack boot does not get twisted during adjustment of front wheel alignment.

NOTE:

Never adjust only right or left tie-rod, be sure to adjust both tie-rods by same amount.

1) Loosen tie-rod end lock nuts (1).
2) Screw in or out right and left tie-rods by the same amount to adjust toe to specification.
3) Check that lengths "a" of both right and left tie-rods are the same. Readjust if there is difference in length "a" between right and left tie-rods.





4) Tighten tie-rod end lock nuts to specified torque after adjustment. Service and Repair
5) Check steering angle referring to Steering Angle Inspection and Adjustment.

Reference Information

Side slip

Side slip (when one person is on vehicle)
: IN 2.0 - OUT 2.0 mm/m (0.8 in./3.3 ft)

Toe angle

When checked with total wheel alignment tester, toe angle should meet the following specification.

Front toe angle
: IN 0� +/- 0� 05' (one side)

If toe angle is out of specification, measure toe using toe-in gauge and adjust toe if incorrect.

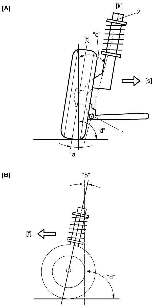
Camber, Caster and Kingpin Inclination Angle Inspection

Check camber, caster and kingpin inclination angle by camber-caster-kingpin gauge (1) and turning radius gauge (2). If any of measurements is out of specification, check the following items for damage, deformation and cracks. If defect is found, repair or replace defective part(s).

- Front strut assemblies and their components
- Front suspension arms and bushings
- Front suspension frame
- Front wheel hubs, steering knuckles and wheel bearing
- Body





Front camber
"a"
: -0� 30' +/- 1�

Front caster
"b"
: 4� 10' +/- 1�

Front kingpin inclination angle
"c"
: 13� 15' +/- 2�

NOTE:

Camber, caster and kingpin inclination angle are not adjustable. If they are out of specification, check vehicle body or replace related part.










Steering Angle Inspection and Adjustment

Whenever tie-rod or tie-rod end is replaced, check and adjust toe and then check steering angle using turning radius gauge. If steering angle measurement is out of specification, check and adjust toe again.

Inside steering angle
: 38� 48' +1�, -3�

Outside steering angle
: 30� 36' +1�, -3�