LEMON Manuals: Even more car manuals for everyone: 1960-2025
Home >> Suzuki >> 2012 >> Kizashi FWD L4-2.4L >> Repair and Diagnosis >> Specifications >> Mechanical Specifications >> Engine >> Connecting Rod, Engine
April 5, 2026: LEMON Manuals is launched! Read the announcement.

Connecting Rod, Engine




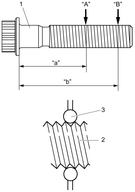
Connecting Rod Bolt

Tightening torque
Connecting rod bolt* (a): (15 Nm -> +45� -> +45� (1.5 kgf-m -> +45� -> +45�, 11.0 lbf-ft -> +45� -> +45�)








Piston pin clearance

Piston pin clearance in connecting rod small-end
Standard: 0.003 - 0.017 mm (0.0002 - 0.0006 in.)
Limit: 0.040 mm (0.0015 in.)

Piston pin clearance in piston
Standard: 0.010 - 0.016 mm (0.00039 - 0.00062 in.)
Limit: 0.05 mm (0.0019 in.)

Small-end bore 21.003 - 21.011 mm (0.82689 - 0.83720 in.)

Piston pin outside diameter 20.994 - 21.000 mm (0.82654 - 0.82677 in.)

Diameter of piston pin hole in piston 21.007 - 21.013 mm (0.82705 - 0.82728 in.)





Connecting Rod

Big-end side clearance
Standard: 0.25 - 0.40 mm (0.0098 - 0.0157 in.)





Connecting rod bolt deformation

Connecting rod bolt measurement points
"a": 28.5 mm (1.12 in.)
"b": 42.0 mm (1.65 in.)

Connecting rod bolt diameter difference
Limit ("A" - "B"): 0.05 mm (0.0019 in.)












Connecting rod bearing clearance
Standard: 0.045 - 0.063 mm (0.0017 - 0.0024 in.)
Limit: 0.065 mm (0.0025 in.)





Connecting rod big-end inside diameter














Formula for target diameter of crankshaft pin
A = B - 0.054 mm (0.0021 in.)
A: Target diameter of crankshaft pin B: Measured connecting rod bearing inside diameter "a".