LEMON Manuals: Even more car manuals for everyone: 1960-2025
Home >> Suzuki >> 2012 >> SX4 2WD L4-2.0L >> Repair and Diagnosis >> Powertrain Management >> Computers and Control Systems >> Air Flow Meter/Sensor >> Service and Repair >> Inspection
April 5, 2026: LEMON Manuals is launched! Read the announcement.

Inspection




Mass Air Flow (MAF) & Intake Air Temperature (IAT) Sensor Inspection

Mass Air Flow (MAF) & Intake Air Temperature (IAT) Sensor On-Vehicle Inspection

NOTE:

The MAF & IAT sensor will be damaged if exposed to a temperature higher than 100 °C (212 °F).

Do not heat the MAF & IAT sensor to a temperature higher than 100 °C (212 °F).

IAT Sensor Inspection

1) Remove MAF & IAT sensor. Removal and Installation
2) Check sensor O-ring (1) for damage and deterioration. If faulty condition is found, replace MAF & IAT sensor.
3) Measure resistance between sensor terminals "1" and "2" while blowing hot air to temperature sensing part (2) of MAF & IAT sensor (3) using hot air drier (4).

If measured resistance is out of specified value, replace MAF & IAT sensor.

Intake air temperature sensor resistance
-20 °C (-4 °F): 13.6 - 18.4 kohms
20 °C (68 °F): 2.21 - 2.69 kohms
60 °C (140 °F): 0.493 - 0.667 kohms













MAF Sensor Inspection

1) Remove MAF & IAT sensor. Removal and Installation
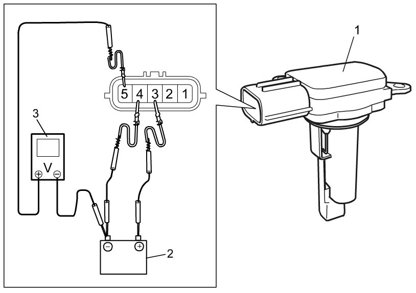
2) Connect battery (2) and voltmeter (3) to MAF & IAT sensor (1) as shown in figure.
3) Check that voltage varies depending on amount of blowing air as the following graph.

If faulty condition is found, replace MAF & IAT sensor.