LEMON Manuals: Even more car manuals for everyone: 1960-2025
Home >> Suzuki >> 2012 >> SX4 Base >> Repair and Diagnosis >> Engine Performance >> Fuel Delivery >> Fuel System >> Repair Instructions >> Fuel Level Sensor Inspection
April 5, 2026: LEMON Manuals is launched! Read the announcement.

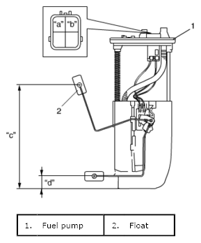
Fuel Level Sensor Inspection

Reference: FUEL LEVEL SENSOR REMOVAL AND INSTALLATION